EasyManua.ls Logo

Electrolux ESE5401A-BPH - Refrigerator Features

Electrolux ESE5401A-BPH
28 pages
Print Icon
To Next Page IconTo Next Page
To Next Page IconTo Next Page
To Previous Page IconTo Previous Page
To Previous Page IconTo Previous Page
Loading...
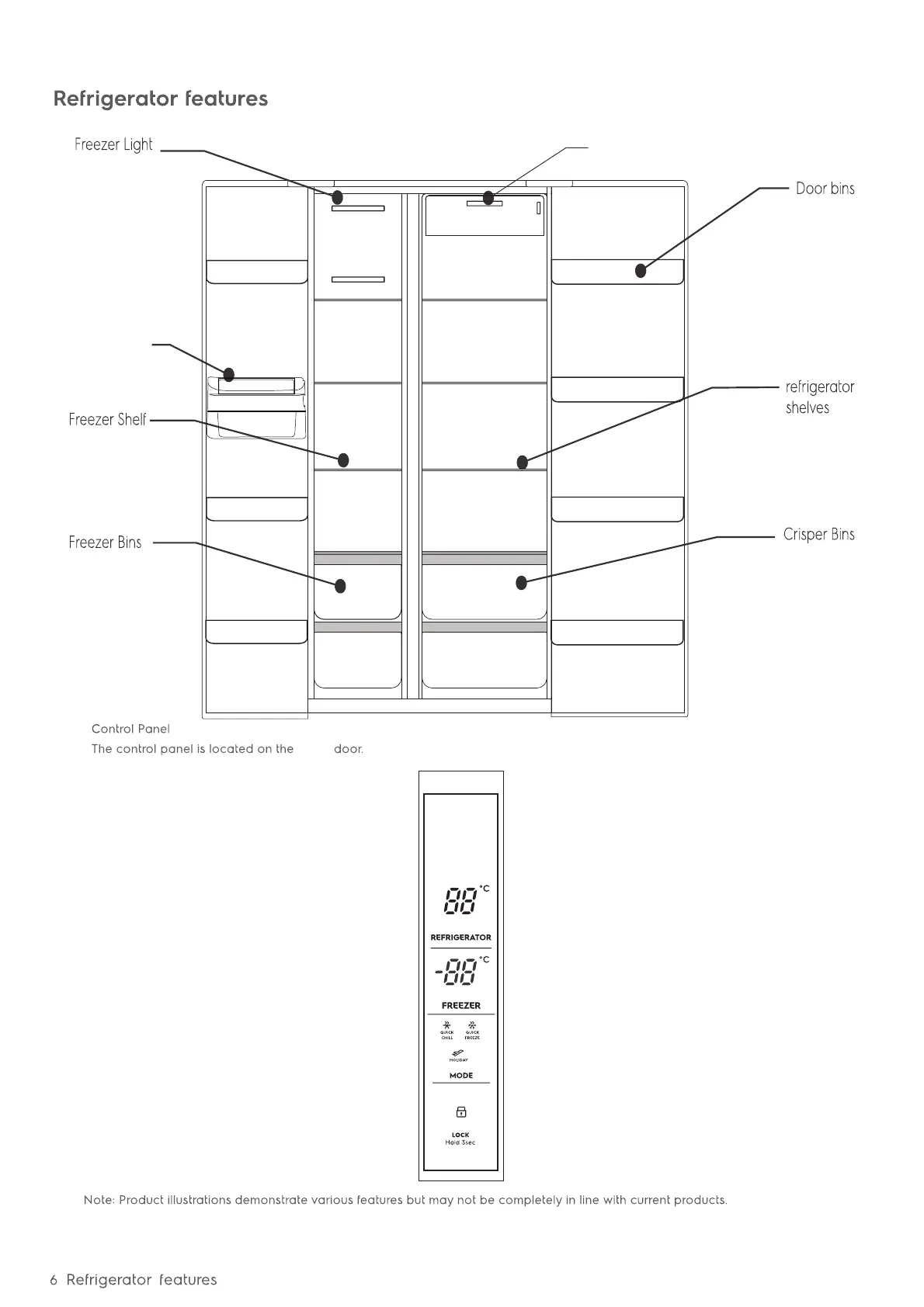
Refrigerator Light
fridge
Ice Twist Serve

Related product manuals