EasyManua.ls Logo

Electrolux EVY9847AAX - Page 45

Electrolux EVY9847AAX
56 pages
Print Icon
To Next Page IconTo Next Page
To Next Page IconTo Next Page
To Previous Page IconTo Previous Page
To Previous Page IconTo Previous Page
Loading...
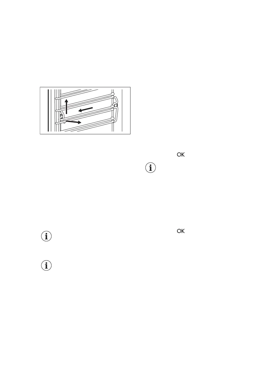
12.3 Removing the shelf
supports
Before maintenance, make sure that the
appliance is cool. There is a risk of
burns.
To clean the appliance, remove the shelf
supports.
1. Pull carefully the supports up and out
of the front catch.
2
3
1
2. Pull the front end of the shelf support
away from the side wall.
3. Pull the supports out of the rear
catch.
Install the shelf supports in the opposite
sequence.
12.4 Steam Cleaning
Remove as much dirt as possible
manually.
Remove the accessories and the shelf
support to clean the side walls.
The steam cleaning functions support the
steam cavity cleaning of the appliance.
For a better performance
you should start the cleaning
function when the appliance
is cool.
The specified time is related
to the duration of the
function and does not
include the time required for
cleaning of the cavity by the
user.
When the steam cleaning function is
active, the light is off.
1. Fill the water drawer to the maximum
level (around 950 ml of water) until
the acoustic signal sounds or the
display shows the message.
2. Choose the steam cleaning function
in the menu: Cleaning.
Steam Cleaning - the duration of the
function is around 30 minutes.
a) Activate the function.
b) An acoustic signal sounds when
the programme is completed.
c) Touch a sensor field to
deactivate the signal.
Steam Cleaning Plus - the duration
of the function is around 75 minutes.
a) Spray a suitable detergent
uniformly in the oven cavity on
both enamel and steel parts.
Before you start the cleaning
procedure, make sure that the
appliance is cold.
b) Activate the function.
After around 50 minutes an
acoustic signal sounds when the
first part of the programme is
completed.
c) Press .
This is not the end of
the cleaning
procedure. Follow
the message in the
display to complete
the cleaning.
d) Wipe the internal surface of the
appliance with a non-abrasive
surface care sponge. You can
use warm water or oven
detergents to clean the cavity.
e) Press
.
The final part of the procedure
starts. The duration of this stage
is around 25 minutes.
3. Wipe the internal surface of the
appliance with a non-abrasive
sponge. You can use warm water to
clean the cavity.
After cleaning keep the appliance door
open for approximately 1 hour. Wait until
the appliance is dry. To speed up the
drying you can heat up the appliance
with hot air at temperature 150 °C for
approximately 15 minutes. You can get
maximum effects of the cleaning function
if you manually clean the appliance
immediately after the function ends.
ENGLISH 45

Other manuals for Electrolux EVY9847AAX

Related product manuals