EasyManua.ls Logo

Electrolux EW6F348SA - Page 22

Electrolux EW6F348SA
56 pages
Print Icon
To Next Page IconTo Next Page
To Next Page IconTo Next Page
To Previous Page IconTo Previous Page
To Previous Page IconTo Previous Page
Loading...
When the activated tank reaches a low
level of detergent, related indicator blinks
slowly and continuously on the display.
It will stop blinking when the
compartment is refilled.
If tank is not refilled, once a programme
has started, the indicator will stop
blinking and stay steadily lit. Once the
programme is finished, it will start
blinking again.
Unless AutoDose is turned OFF, if a
compartment has reached low level, the
set dosage for that compartment will be
shown by the display for a few seconds
each time the drawer is opened, to
remind refill is needed.
If in both tanks detergent level is low,
both indicators blink, but only the set
dosage for detergent will be displayed.
If the tanks are filled before
the appliance is powered on
for the first time, the
AutoDose indicator will not
blink.
The tanks refill must be
carries out with the same
detergent/fabric softener
used before, otherwise clean
the tanks before refilling.
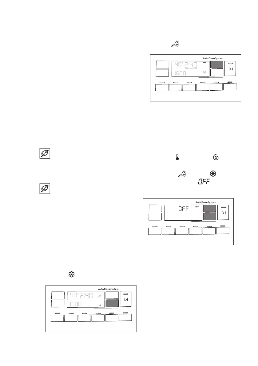
7.7 Switching from AutoDose to
manual dosing
It is possible to disable AutoDose
function for one or both tanks by
pressing related button symbol.
Example:
To switch Fabric Softener tank off,
press the button until the display
shows OFF.
If you need to use different detergent
than ones present in AutoDose tanks,
you could switch Detergent tank off by
pressing button until the display
shows OFF.
7.8 Deactivating the AutoDose
If you prefer to use the compartments for
manual filling as default choice, you can
deactivated the AutoDose tanks
completely.
Once you have entered the AutoDose
configuration mode by pressing
Temperature
and the Spin
buttons:
1. Tap on the button or button
until display shows
: the
AutoDose is excluded completely for
related tank or both.
2. After about 10 seconds the display
returns to the programme information
screen.
7.9 Manual filling the detergent
and additives
You may need to use a different
detergent or fabric softener than the
ones used in the AutoDose tanks. First,
make sure that the AutoDose tanks are
disabled and then pour the detergent
and/or other treatments in the manual
compartments.
www.electrolux.com22

Related product manuals