EasyManua.ls Logo

Electrolux EWF 1080 - Control Panel; Programme Knob

Electrolux EWF 1080
40 pages
Print Icon
To Next Page IconTo Next Page
To Next Page IconTo Next Page
To Previous Page IconTo Previous Page
To Previous Page IconTo Previous Page
Loading...
8
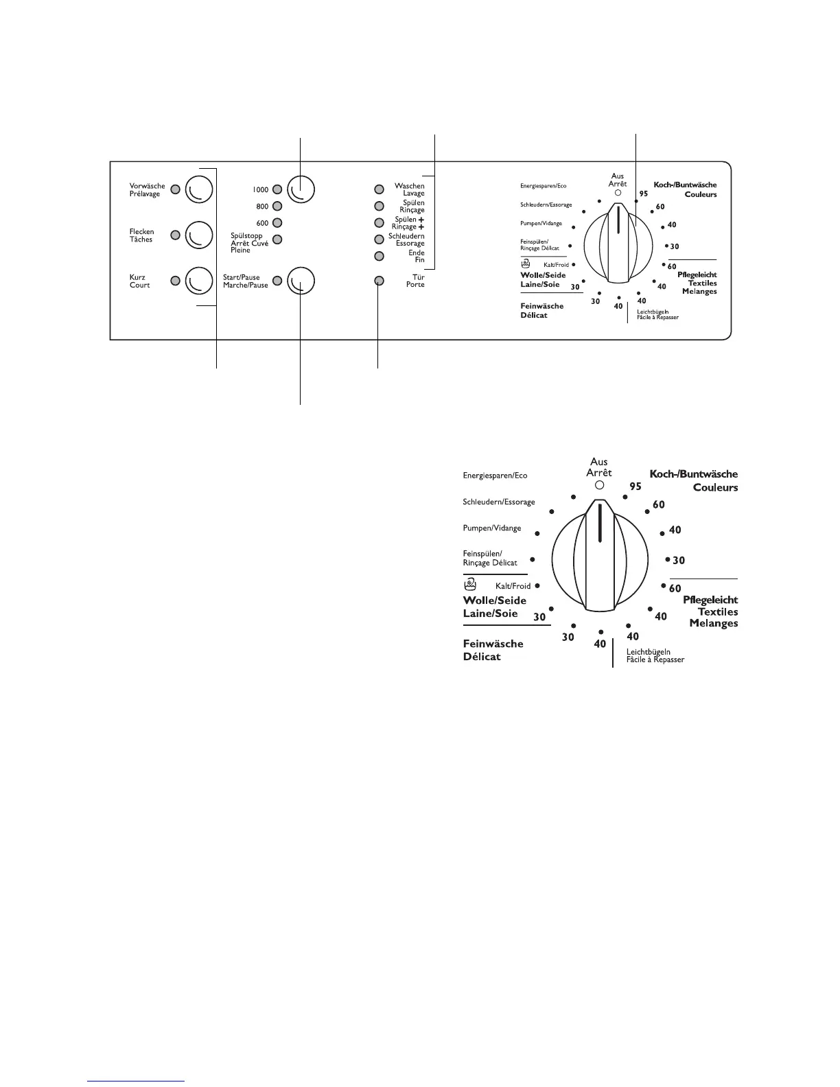
Control Panel
Programme Knob
The programme knob is used to set the wash cycle
(for example, water level, drum movement, number
of rinses, spin speed) most suitable for the type of
washing, as well as the temperature of the water.
OFF (Aus, Arrêt)
Switches the washing machine off - at all other
positions the machine is on.
It is also used to cancel programme settings
selected by mistake. The original position is
restored.
COTTONS/COLOUREDS
(Koch-/Buntwäsche, Couleurs)
Main wash cycle for Cottons/Coloureds (cottons/lin-
ens) from 30 °C to 95 °C.
EASY-CARES (Pflegeleicht, Textiles
Mélanges)
Main wash cycle for easy-care materials (mixed
fibres) at 40 °C or 60 °C.
EASY IRON position: (Leichtbügeln, Facile à
Repasser) Main wash cycle at 40° C for easy-care
materials which, after washing with this programme,
require only light ironing or no ironing at all.
DELICATES (Feinwäsche, Délicat)
Main wash programme for Delicates at 30 °C or
40 °C.
WOOL/SILK (Wolle/Seide, Laine/Soie) P
(Handwash)
Main wash cycle (cold or 30 °C) for machine-washa-
ble or hand-washable woollen items and silk, which
bear the symbol ï (Handwash).
Programme Progress Display
Control knob
Spin speed/RINSE HOLD button
START/PAUSE button
Additional Programme Buttons
DOOR indicator

Table of Contents

Related product manuals