EasyManua.ls Logo

Electrolux EWW14012 - Penggunaan Sehari-Hari

Electrolux EWW14012
112 pages
Print Icon
To Next Page IconTo Next Page
To Next Page IconTo Next Page
To Previous Page IconTo Previous Page
To Previous Page IconTo Previous Page
Loading...
BAHASA INDONESIA 53
PENGGUNAAN SEHARI-HARI5.
1
3
5
4
2
pesan “Set dosage detergent [Atur
dosis deterjen]” muncul di bilah teks.
Tekan berulang-ulang untuk
mengatur dosis deterjen ke
rekomendasi produsen maksimum di
kemasn yang adalah ekuivalen 100% .
Untuk kuantitas deterjen maksimum
lihat rekomendasi produsen di
kemasan.
Tekan untuk mengonfirmasikan.
Anda bisa mengatur indikasi dalam
bentuk ml agar lebih akurat, dengan
menekan dan bersamaan
selama beberapa detik.
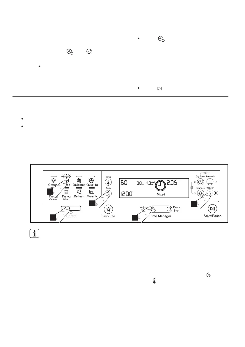
Langkah 1 - Mengatur Program untuk Pencucian
5.1 Panduan Lima Langkah untuk Memulai
Hubungkan steker listrik ke stop kontak listrik.
Nyalakan keran air.
tekan Touchpad Spin [Peras] ‘ ’ dan
suhu ‘ ’ berulang-ulang untuk
mengubah kecepatan perasan dan suhu.
1.
Tekan tombol On/Off untuk
menghidupkan cuci-pengering.
Untuk operasi sensor beban
yang benar, aktifkan alat dan
atur program cucian
SEBELUM memuat cucian ke
tabung.
3.
Jika Anda ingin cucian diperas atau
menggunakan suhu berbeda dari yang
diusulkan oleh mesin cuci,
4.
Tekan Touchpad opsi, jika Anda
ingin cucian dicuci dengan beberapa
fungsi.
Fungsi berbeda dapat dikombinasi-
kan yang tergantung pada program
yang dipilih.
2.
Sentuh salah satu IKON program,
untuk memilih program cucian yang
Anda perlukan.
Lampu yang terkait akan menyala.
-
Setelah memilih program mencuci,
program yang dipilih akan tetap
berada di posisi tersebut .selama
siklus pencucian.
-
Layar menunjukkan tingkat Time
Manager, durasi program, dan
indikator fase program.
-

Related product manuals