EasyManua.ls Logo

Electrolux FLE120 - Page 24

Electrolux FLE120
91 pages
Print Icon
To Next Page IconTo Next Page
To Next Page IconTo Next Page
To Previous Page IconTo Previous Page
To Previous Page IconTo Previous Page
Loading...
12. Function Sequences Edition
Type
Service
Manual
17 9108
12
Page
1688
9
A
M
K53
K
52
51
3
1
2
K31
81
82
N
3
1
2
P< P<
O
3
1
2
Q
3
1
2
L
3
1
2
B1
B1
S36
S35
Y14
Y24
Y34
D
X9:9
X9:6
X9:4
X9:3
4
73
74
91
92
90
86
87
110
69
67
63
1
2
1
2
32
33
31
22
23
21
1
2
3
76
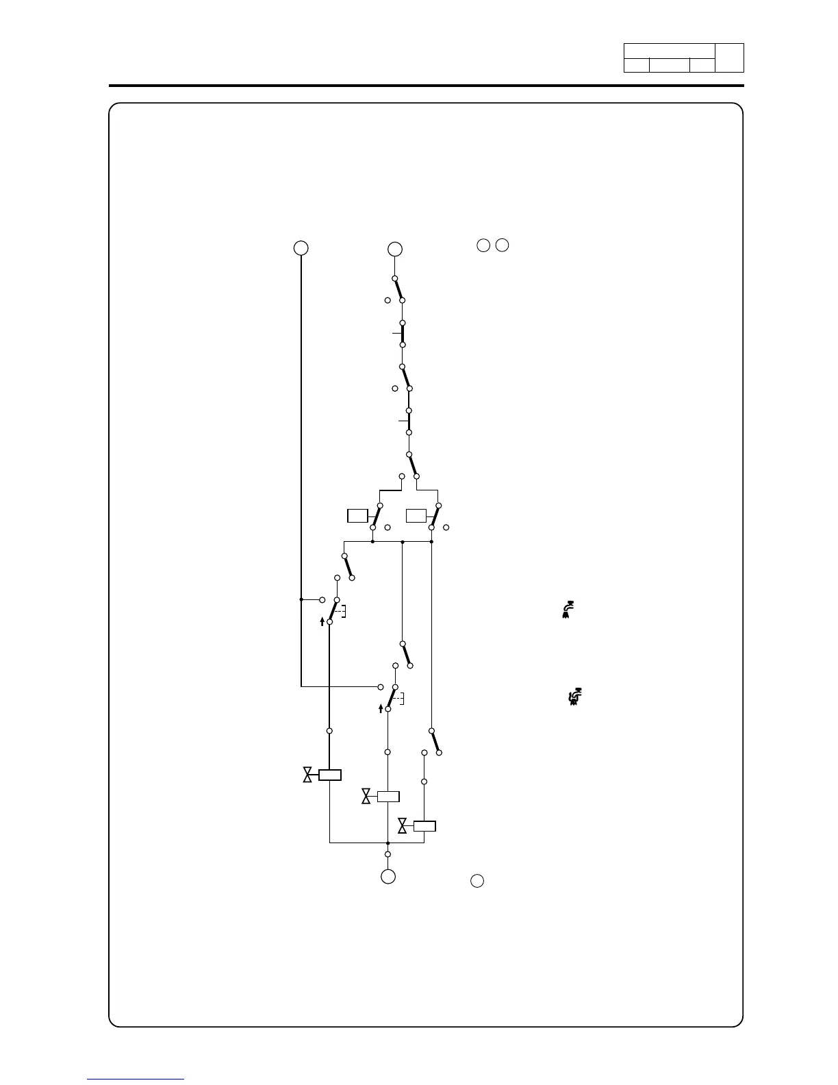
C
A C : Power supply: see ''Power supply and
start'' diagram
(1) Programmer, row M, stop
(2) Relay K53, out-of-balance
(3) Programmer, row K, drain
(4) Relay K31, drain
(5) Programmer, row N, high level (shown in normal
position = low level)
(6) Level control B1, low/high
(7) Programmer, row O, cold water
(8) Switcher S36 (cold water)
(9) Programmer, row Q, hot water
(10) Switcher S35 (hot water)
(11) Programmer, row L, cold hard water
(12) Valve Y14, cold water (directly into the drum)
(13) Valve Y24, hot water (directly into the drum)
(14) Valve Y34, cold hard water (directly into the
drum)
D : Power supply: see function sequence ''Power
supply and start''

Table of Contents

Related product manuals