EasyManua.ls Logo

Electrolux FLE120 - Page 34

Electrolux FLE120
91 pages
Print Icon
To Next Page IconTo Next Page
To Next Page IconTo Next Page
To Previous Page IconTo Previous Page
To Previous Page IconTo Previous Page
Loading...
12. Function Sequences Edition
Type
Service
Manual
17 9108
12
Page
1681
19
M
A
3
2
1
K
3
K31
K31
K10
K9
K53
K3
D
3
1
2
b
43
44
X5:6
12
11
11
12
X5:8
71
72
63
68
71
135
136130
112
A1
A2
A1
A2
52
51
67
K53
M
B31
K31
M22
1
3
2
56
X31:1
X31:2
52
51
57
4
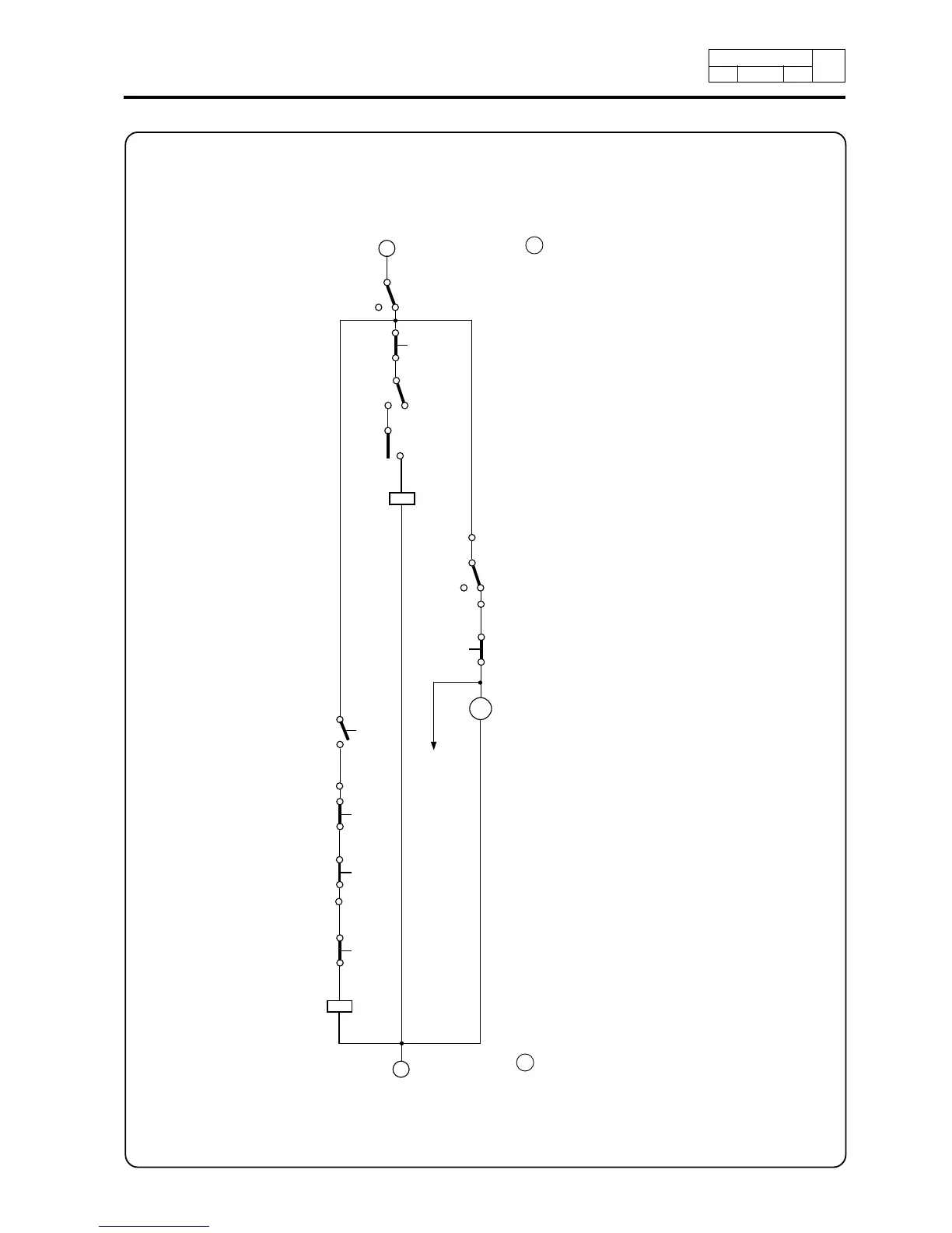
A : Power supply: see ''Power and start''
sequence
(1) Programmer, row M, stop
(2) Relay K53, out-of-balance
(3) Programmer, row K, drain
(4) Reverser, row 3
(5) Relay coil K31, drain
(6) Speed control B31
(7) Relay K31, drain
(8) Motor M22, reverser
(9) Relay K31, drain
(10) Relay K10, high extraction
(11) Relay K9, low extraction
(12) Relay K53, out-of-balance
(13) Relay coil K3, distribution speed
D : Power supply: see ''Power supply and start''
sequence
till kontaktor-
spole K2,
tvättvarv.

Table of Contents

Related product manuals