EasyManua.ls Logo

Electrolux LNT2LF18S3 - Panel de Control

Electrolux LNT2LF18S3
84 pages
Print Icon
To Next Page IconTo Next Page
To Next Page IconTo Next Page
To Previous Page IconTo Previous Page
To Previous Page IconTo Previous Page
Loading...
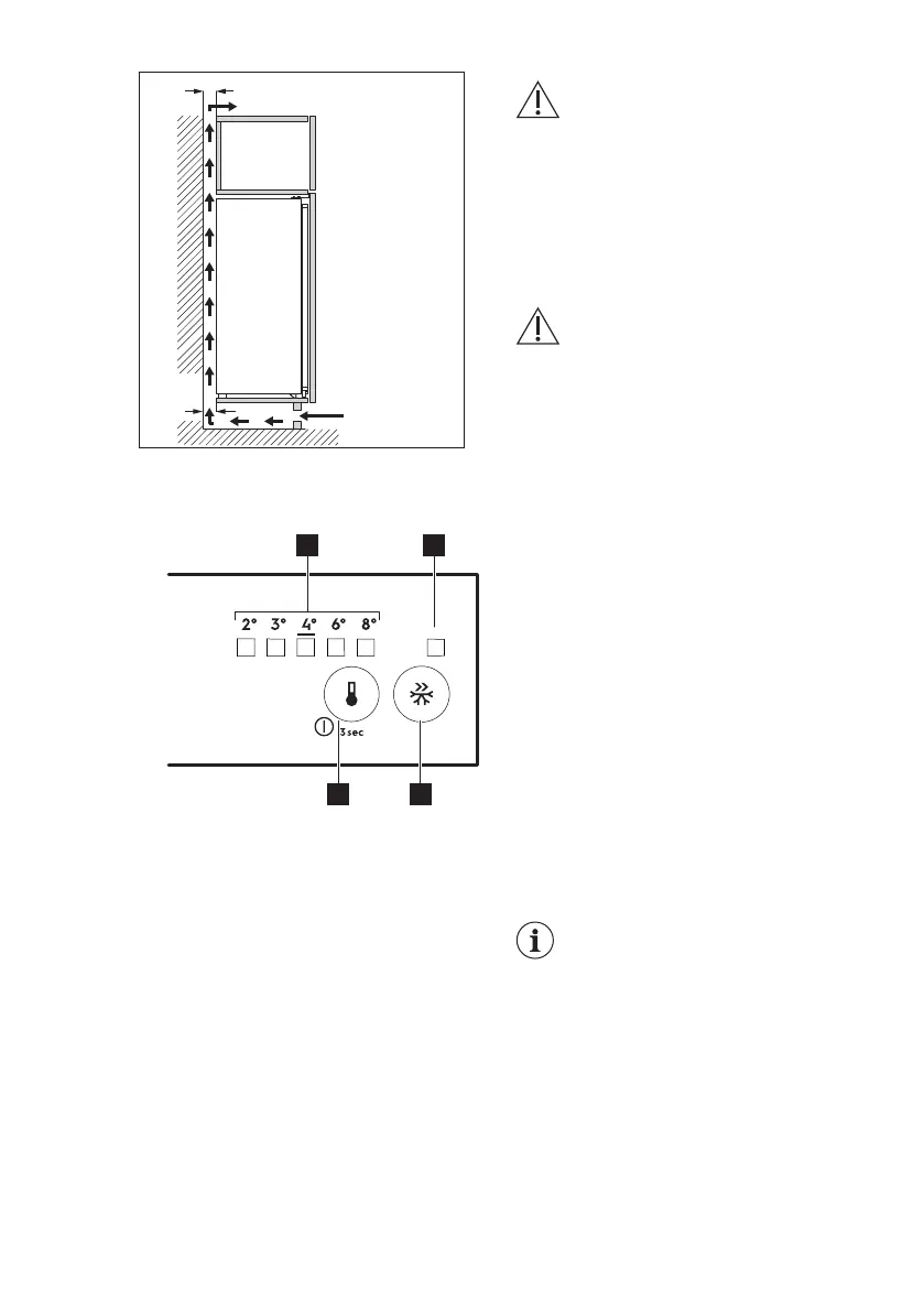
min. 200 cm
2
(L*W)
min.
200 cm
2
(L*W)
min.
38 mm
min.
38 mm
PRECAUCIÓN!
Consulte las instrucciones
para realizar la instalación.
3.5 Cambio del sentido de
apertura de la puerta
Consulte el documento separado con
instrucciones de instalación y de
inversión de la puerta.
PRECAUCIÓN!
En todas las fases del
cambio de sentido de la
puerta, proteja la puerta de
arañazos con un material
resistente.
4. PANEL DE CONTROL
1 2
4 3
1 2
4 3
1. Indicador LED de temperatura
2. Indicador FastFreeze
3. Botón FastFreeze
4. Regulador de temperatura
Botón de encendido/apagado
4.1 Encendido
1. Introduzca el enchufe en la toma de
pared.
2. Toque el botón del regulador de
temperatura si todos los LED están
apagados.
4.2 Apagado
Siga tocando el botón del regulador de
temperatura durante 3 segundos.
Todos los indicadores se apagan.
4.3 Regulación de la
temperatura
Para utilizar el aparato, toque el
regulador de temperatura hasta que se
encienda el LED correspondiente a la
temperatura que desea. La selección es
progresiva y oscila de 2°C a 8°C. El
ajuste recomendado es de 4°C.
1. Toque el regulador de temperatura.
El indicador de temperatura actual
parpadea. Cada vez que se toca el
regulador de temperatura, el ajuste se
mueve una posición. El LED parpadea
un momento.
2. Toque el regulador de temperatura
hasta que se seleccione la
temperatura deseada.
La temperatura programada
se alcanza en un plazo de
24 horas. Después de un
corte del suministro
eléctrico, la temperatura
ajustada se guarda.
4.4 Función FastFreeze
La función FastFreeze se utiliza para
realizar la precongelación y la
congelación rápida en secuencia en el
compartimiento del congelador. Esta
función acelera la congelación de
alimentos frescos e impide que se
www.electrolux.com68

Related product manuals