EasyManua.ls Logo

Electrolux NHT8 - Electrical Connections; E.10.1 Connections Provided for Energy Control; Safety Devices

Electrolux NHT8
40 pages
Print Icon
To Next Page IconTo Next Page
To Next Page IconTo Next Page
To Previous Page IconTo Previous Page
To Previous Page IconTo Previous Page
Loading...
23
E.10 Electrical connections
WARNING
Work on the electrical systems
must only be carried out by a
specialised personnel.
Connection to the power supply must be carried out in
compliance with the regulations and provisions in force in
the country of use.
Make sure the machine power supply voltage specified on
the rating plate matches the mains voltage.
Make sure the system power supply is arranged and able to
take the actual current load and that it is executed in a
workmanlike manner according to the regulations in force in
the country of use.
The earth wire from the terminal board side must be longer
(max 20 mm) than the phase wires.
Connect the power cable earth wire to an efficient earth.
The equipment must also be included in an equipotential
system, whose connection is made by means of screw EQ
(see par. Installation diagram) indicated by the symbol .
The equipotential wire must have a section of at least 10
mm
2
.
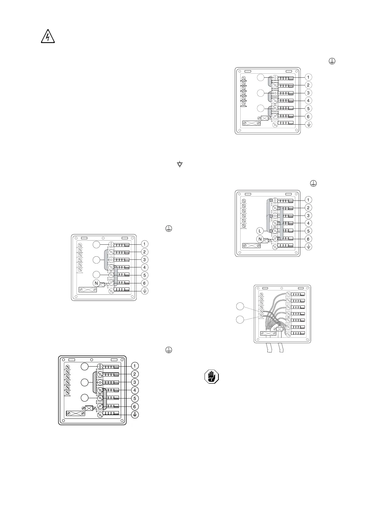
Power supply 380-415V 3N
Open the power supply terminal board and insert the jumpers
provided as follows: one jumper between terminals 2 and 4
and another between terminals 4 and 6. Using a suitable
power supply cable (see C.1 Main technical characteristics
table), connect the three phases to terminals 1, 3 and 5, the
neutral to terminal 6 and the earth wire to the terminal .
Power supply 400 - 440V 3
Open the power supply terminal board and insert the jumpers
provided as follows: one jumper between terminals 2 and 4
and another between terminals 4 and 6. Using a suitable
power supply cable (see C.1 Main technical characteristics
table), connect the three phases to terminals 1, 3 and 5, the
neutral to terminal 6 and the earth wire to the terminal .
Power supply 220 - 230V 3
Open the power supply terminal board and insert the jumpers
provided as follows: one jumper between terminals 1 and 2,
one between terminals 3 and 4 and another between terminals
5 and 6. Using a suitable power supply cable (see C.1 Main
technical characteristics table) connect the three phases to
terminals 1, 3 and 5 and the earth wire to the terminal .
Power supply 220 - 230V 1N
Open the power supply terminal board and insert the jumpers
provided as follows: two jumpers between terminals 1, 3, 5 and
another two between terminals 2, 4 and 6. Using a suitable
power supply cable (see C.1 Main technical characteristics
table), connect the phase and neutral to terminals 5 and 6
respectively and the earth wire to the terminal .
E.10.1 Connections provided for energy control
This appliance is designed for an external energy consumption
control.
Connect the energy peak controller across terminals 11 and 12.
CAUTION
A normally open (n. o.) contact of the
controller must be connected across ter-
minals 11 and 12. When this contact
closes the boiler heating elements are
disconnected. Using the dishwasher in
these conditions may increase the cycle
time.
E.11 Safety devices
An automatic-reset overload protector incorporated in the
electric pump windings cuts off the power to the pump in
case of faulty operation.
A device prevents the booster water from returning back
into the system in the event of a water supply system fault.
An overflow pipe connected to the discharge ensures a
constant water level in the tank.
L1
L2
L3
L1
L2
L3
L1
L2
L3
11
12

Table of Contents

Other manuals for Electrolux NHT8

Related product manuals