EasyManua.ls Logo

Electrolux ZUCA1 - B2 Electrical Connection

Electrolux ZUCA1
14 pages
Print Icon
To Next Page IconTo Next Page
To Next Page IconTo Next Page
To Previous Page IconTo Previous Page
To Previous Page IconTo Previous Page
Loading...
8
- On the model with free-fall drainage:
connect the waste outlet pipe “C” (Figure 4) to the
main drain pipe, fitting a trap, or place the outlet pipe
over an S trap set into the floor.
- On the model with drain pump:
position the outlet pipe at a height anywhere between
750 and 1000 mm from the floor.
Check that about 4 litres of water flow out of the outlet
pipe during the rinse cycle.
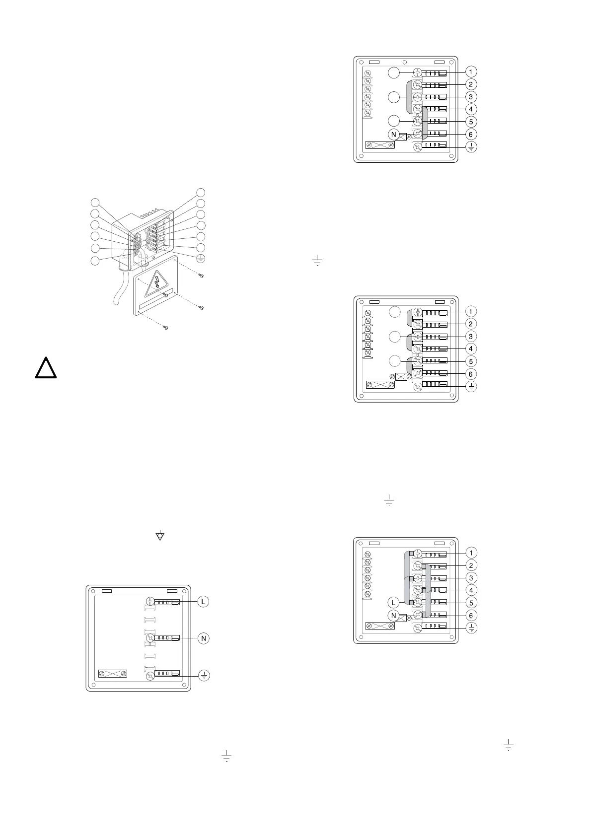
B2 ELECTRICAL CONNECTION
Figure 10
Before carrying out the electrical connection, check
that the voltage and frequency on the appliance
rating plate correspond to those of the mains
electricity supply.
The earth wire at the terminal end must be longer
(max. 20 mm) than the phase wires.
Connect the earth wire of the power supply cable to
an efficient earth clamp. The appliance must also
be included in a unipotential system, the connec-
tion being made through the screw “Q” (Figure 4)
marked with the symbol “ . The unipotential wire
must have a cross section of 10 mm
2
.
Power supply 220-230V 1N
Figure 11
Open the power supply terminal board.
Using a suitable power cable (see technical data table),
connect the phase wire to terminal L, the neutral wire to
terminal N and the earth wire to the terminal .
Three-phase version:
Power supply 400…415V 3N
Figure 12
Open the power supply terminal board and insert the
jumpers provided as follows: one jumper between termi-
nals 2 and 4 and another between terminals 4 and 6.
Using a suitable power supply cable (see technical data
table), connect the three phases to terminals 1, 3 and 5,
the neutral to terminal 4 and the earth wire to the termi-
nal .
Power supply 220-230V 3
Figure 13
Open the power supply terminal board and insert the
jumpers provided as follows: one jumper between termi-
nals 1 and 2, one between terminals 3 and 4 and
another between terminals 5 and 6. Using a suitable
power supply cable (see technical data table), connect
the three phases to terminals 1, 3 and 5 and the earth
wire to the terminal .
Power supply 220-230V 1N
Figure 14
Open the power supply terminal board and insert the
jumpers provided as follows: two jumpers between ter-
minals 1, 3, 5 and another two between terminals 2, 4
and 6.
Using a suitable power supply cable (see technical data
table), connect the phase and neutral to terminals 5 and
6 respectively and the earth wire to the terminal .
CAUTION:
THE EARTH AND ELECTRICAL CON-
NECTIONS SHOULD BE IN COMPLI-
ANCE WITH NATIONAL REGULATIONS.
A
C
4
00..
..
1
11
10
9
8
7
6
5
4
3
2
12
L1
L2
L3
L1
L2
L3

Related product manuals