EasyManua.ls Logo

Emerson Fisher 667 30 - Page 32

Emerson Fisher 667 30
40 pages
To Next Page IconTo Next Page
To Next Page IconTo Next Page
To Previous Page IconTo Previous Page
To Previous Page IconTo Previous Page
Loading...
Instruction Manual
D100310X012
667 Actuator (Size 30/30i - 76/76i and 87)
May 2018
32
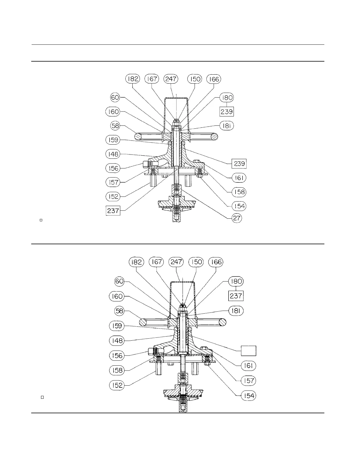
APPLY LUBRICANT
NOTE:
THE TOP MOUNTED HANDWHEEL IS NOT DESIGNED FOR USE UNDER HEAVY LOAD OR FREQUENT USE.
30B3940 C
Figure 11. Top‐Mounted Handwheel Assembly for Size 30/30i through 40/40i Actuators
APPLY LUBRICANT
239
30B3942‐A
Figure 12. Top‐Mounted Handwheel Assembly, Style P2 for Size 45/45i, 50/50i, 60/60i, and 76/76i Actuators

Related product manuals