EasyManua.ls Logo

Emerson Fisher EWD - Page 40

Emerson Fisher EWD
60 pages
Print Icon
To Next Page IconTo Next Page
To Next Page IconTo Next Page
To Previous Page IconTo Previous Page
To Previous Page IconTo Previous Page
Loading...
Instruction Manual
D100399X012
EW Valve
July 2017
40
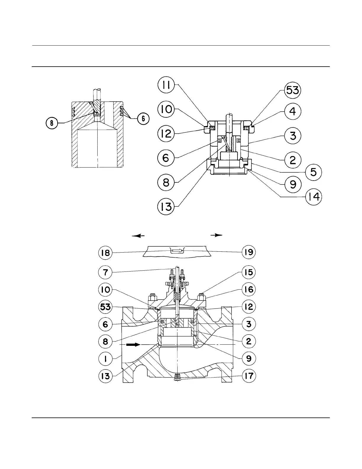
Figure 22. Fisher EWD Valve through NPS 12x6 with Optional Drain Plug
DETAIL OF MULTIPLE
PISTON RING FOR
CLASS IV SHUTOFF
RESTRICTED TRIM DETAIL
VALVE ASSEMBLY WITH
STANDARD CAGE
41A9275-B
57A3966‐A
30A9547‐G
FLOW DIRECTION
WHISPER TRIM
STD TRIM
CAVITROL TRIM

Related product manuals