EasyManua.ls Logo

Emerson Fisher EWD - Page 45

Emerson Fisher EWD
60 pages
Print Icon
To Next Page IconTo Next Page
To Next Page IconTo Next Page
To Previous Page IconTo Previous Page
To Previous Page IconTo Previous Page
Loading...
Instruction Manual
D100399X012
EW Valve
July 2017
45
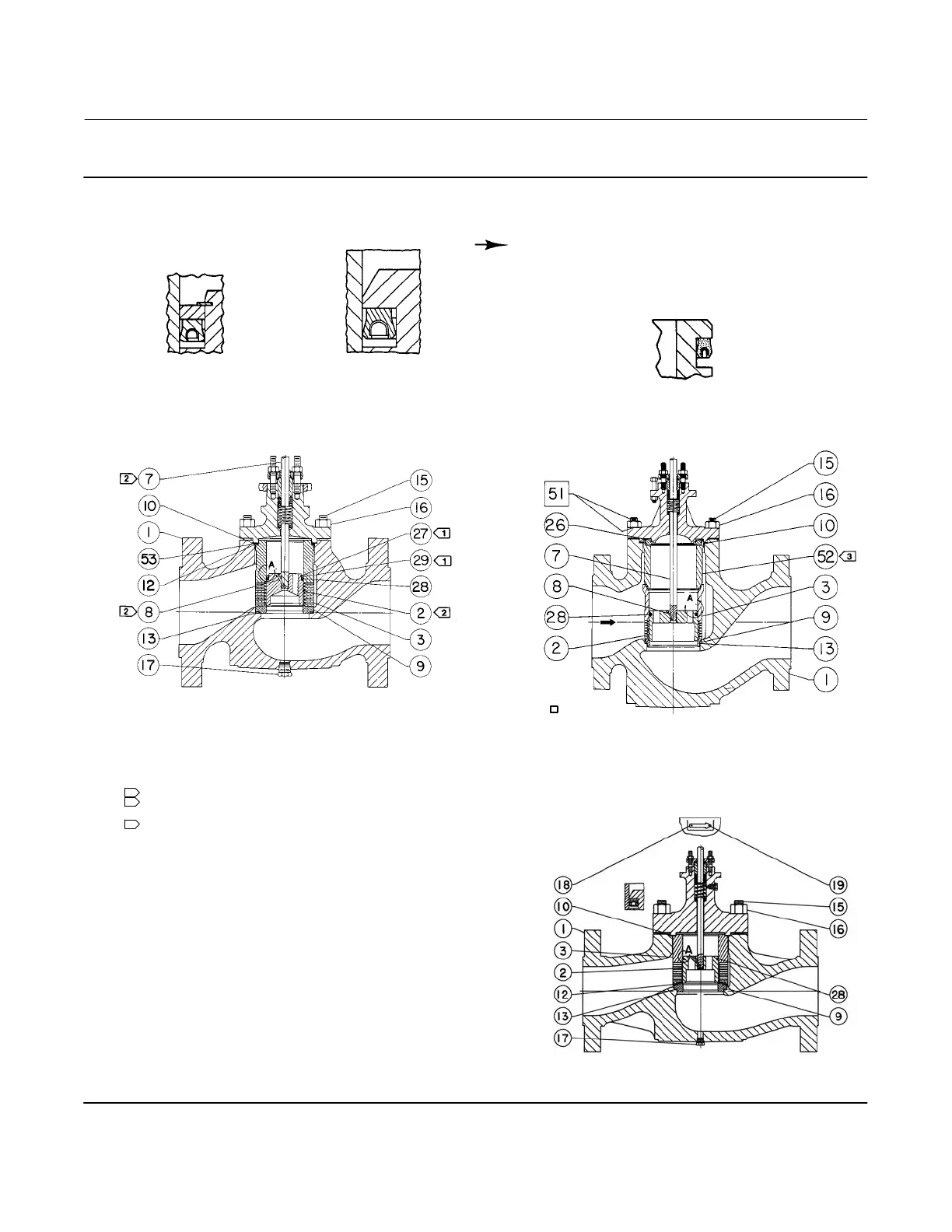
Figure 26. NPS 4x2 Through 12x8 Fisher Valves with 1‐Stage Cavitrol III Cage
VIEW A
NPS 4x2 THROUGH 8x4
VALVES
APPLY LUB
VIEW A
NPS 8x6 THROUGH 12x6
VALVES
VIEW A
NPS 12x8 VALVE
NPS 4x2 THROUGH 12x6 VALVES
WITH OPTIONAL DRAIN PLUG
58A1015‐A
58A1012‐B
58A1012‐B
54A8146‐B
FLOW DIRECTION
NOTES:
NOT REQUIRED ON NPS 8x6 AND 12x6 VALVES.
KEYS 2, 7, & 8 ARE SUPPLIED AS AN ASSEMBLY (KEY 2)
FOR NPS 8x6 AND 12x6 VALVES.
NOT REQUIRED FOR NPS 12x8 VALVES WITH 4‐ OR
6‐INCH TRAVEL.
1
2
3
NPS 8x6 CL900
VALVE GASKETING DETAIL
WITH OPTIONAL DRAIN PLUG
54A8142‐A
FLOW DIRECTION
VIEW A

Related product manuals