EasyManua.ls Logo

Emos P5614 - Page 12

Emos P5614
84 pages
Print Icon
To Next Page IconTo Next Page
To Next Page IconTo Next Page
To Previous Page IconTo Previous Page
To Previous Page IconTo Previous Page
Loading...
12
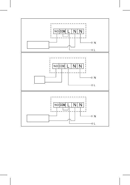
Schéma připojení podlahového vytápění
Připojené
zařízení
Předinstalovaná drátová spojka nebude zapojena.
Schéma připojení kotle
Kotel
Schéma připojení expanzního ventilu/elektrického pohonu
Připojené
zařízení
UVEDENÍ DO ČINNOSTI
Spárování ovládací jednotky se spínací jednotkou
Před prvním použitím je nutné obě jednotky termostatu spárovat.
Spárování umožňuje přenos informací mezi ovládací a spínací jednotkou.
K nastavení se používá automatické spárování (self-learning).
1. Odstraňte kryt termostatu (vysílače) a vložte baterie 2× 1,5 V AAA do
ovládací jednotky (při vkládání dejte pozor na správnou polaritu bate-
rií). Používejte pouze alkalické baterie, nepoužívejte nabíjecí baterie.

Related product manuals