EasyManua.ls Logo

Emos P5614 - Page 67

Emos P5614
84 pages
Print Icon
To Next Page IconTo Next Page
To Next Page IconTo Next Page
To Previous Page IconTo Previous Page
To Previous Page IconTo Previous Page
Loading...
67
Pārslēgšanas iekārtas priekšpuses noņemšanas procedūra
(skatīt 6. attēlu)
2, 3 Ar skrūvgriezi nospiediet uz leju un turiet iekšējo slēdzeni, noņemiet
priekšējo vāku
UZSTĀDĪŠANA
Brīdinājums!
Pirms termostata nomaiņas atvienojiet apkures/gaisa kondicionēšanas
sistēmu no jūsu dzīvokļa elektrotīkla. Tas nepieļaus potenciālas elektriskās
strāvas izraisītas traumas.
Termostata uzstādīšana
Termostata aizmugurē ir četras atveres uzstādīšanai pie sienas. Izmantojiet
komplektācijā iekļautās skrūves un sienas tapas, lai uzstādītu termostatu.
Termostata novietojums
Termostata (raidītāja iekārtas) novietojums būtiski ietekmē tā darbību.
Izvēlieties vietu, kur ģimenes locekļi pavada lielāko daļu laika, vēlams
izvēlēties iekšējo sienu, kur gaiss brīvi cirkulē, bez tiešas saules gaismas.
Nenovietojiet termostatu siltuma avotu (piemēram, televizoru, radiatoru,
ledusskapju) tuvumā vai tuvu durvīm. Šo ieteikumu neievērošana traucēs
pareizu telpas temperatūras kontroli.
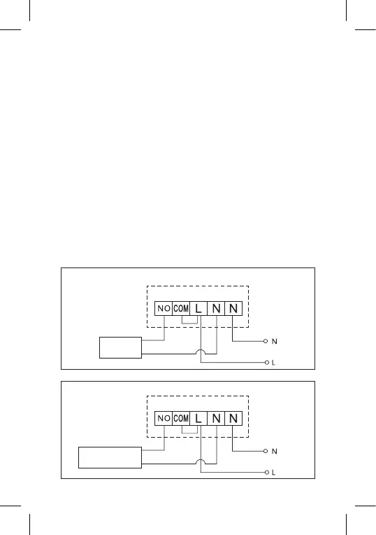
Pārslēgšanas iekārtas elektroinstalācijas shēma
Sūkņa/motorizētā vārsta savienojumu shēma
Sūknis/
vārsts
Grīdas apkures savienojumu shēma
Pievienotā
ierīce

Related product manuals