EasyManua.ls Logo

Emos P5614 - Page 68

Emos P5614
84 pages
Print Icon
To Next Page IconTo Next Page
To Next Page IconTo Next Page
To Previous Page IconTo Previous Page
To Previous Page IconTo Previous Page
Loading...
68
Iepriekš uzstādīta vadu savienotājapskava netiks pievienota.
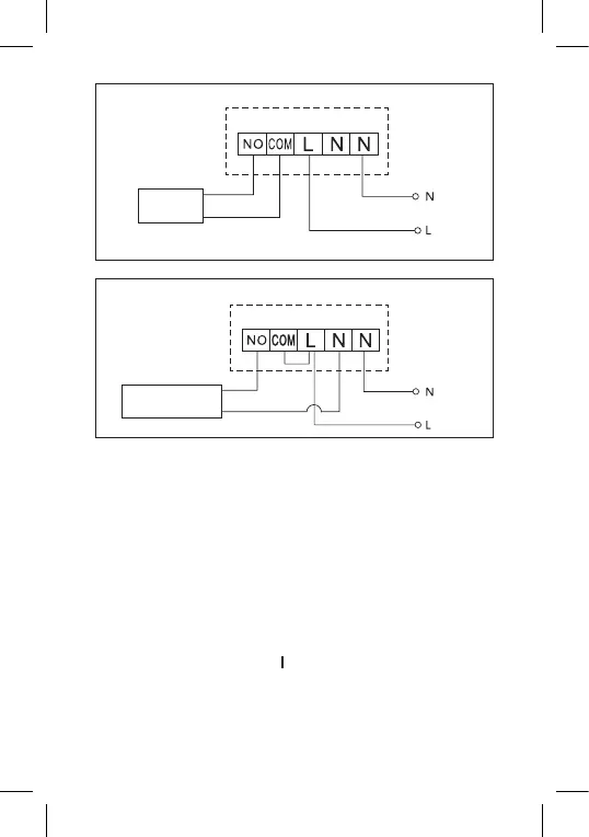
Apkures katla savienojumu shēma
Apkures
katls
Izplešanās vārsta/elektropiedziņas savienojumu shēma
Pievienotā
ierīce
IERĪCES LIETOŠANAS UZSĀKŠANA
Vadības bloka savienošana pārī ar pārslēgšanas iekārtu
Abām termostata iekārtām pirms pirmās lietošanas reizes ir jābūt
savienotām pārī.
Savienošana pārī nodrošina informācijas apmaiņu starp vadības bloku
un pārslēgšanas iekārtu.
Iestatīšana tiek veikta, izmantojot automatizētu savienošanu pārī (paš-
mācības funkciju).
1. Noņemiet termostata (raidītāja) vāciņu un ievietojiet divas 1,5 V
AAA tipa baterijas vadības blokā (ievērojiet pareizu bateriju pola-
ritāti). Izmantojiet tikai sārma baterijas. Neizmantojiet atkārtoti
uzlādējamas baterijas.
2. Pareizi pievienojiet pārslēgšanas iekārtu sprieguma avotam, pagrie-
ziet galveno slēdzi pozīcijā un turiet nospiestu (vismaz desmit
sekundes) M/A pogu; sāks mirgot zaļā diode.
3. Turiet nospiestu (vismaz trīs sekundes) pogu LEARN uz termostata
(raidītāja) instrumentu paneļa.
Zaļā diode uz pārslēgšanas iekārtas pārtrauks mirgot – abas iekārtas
ir savienotas pārī.

Related product manuals