EasyManua.ls Logo

ensto EVB100 - Page 6

ensto EVB100
36 pages
Print Icon
To Next Page IconTo Next Page
To Next Page IconTo Next Page
To Previous Page IconTo Previous Page
To Previous Page IconTo Previous Page
Loading...
6
RAK111_ENG / © Ensto 2019
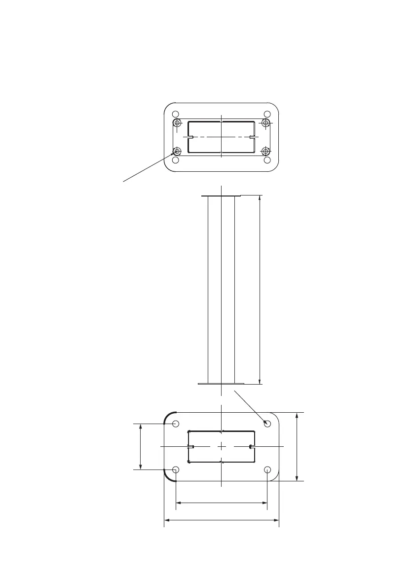
EVTL43.00
Ground / Floor mounting pole
200
250
150
4 x Ø14
100
1029,5
(4 x Ø9,5)

Related product manuals