EasyManua.ls Logo

Epson XP-6100 - Page 18

Epson XP-6100
334 pages
Print Icon
To Next Page IconTo Next Page
To Next Page IconTo Next Page
To Previous Page IconTo Previous Page
To Previous Page IconTo Previous Page
Loading...
18
4
USB port for external USB devices
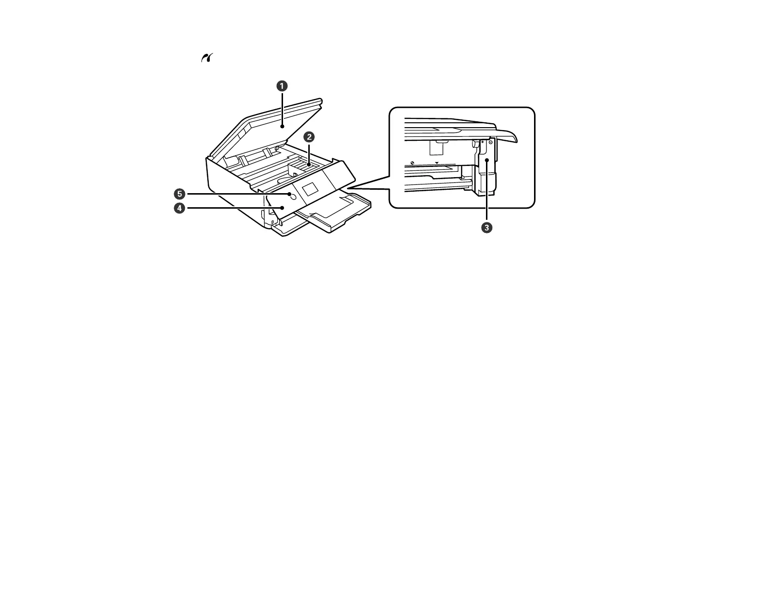
1 Scanner unit
2 Ink cartridge holder
3 Maintenance box cover
4 Control panel
5 Power button
Parent topic: Product Parts Locations

Table of Contents

Related product manuals