EasyManua.ls Logo

Equalizer Systems Auto Level - Equalizer Systems Limited Warranty Policy; Warranty Claims and Authorization; Warranty Coverage Period; Labor and Freight Reimbursement

Equalizer Systems Auto Level
14 pages
Print Icon
To Next Page IconTo Next Page
To Next Page IconTo Next Page
To Previous Page IconTo Previous Page
To Previous Page IconTo Previous Page
Loading...
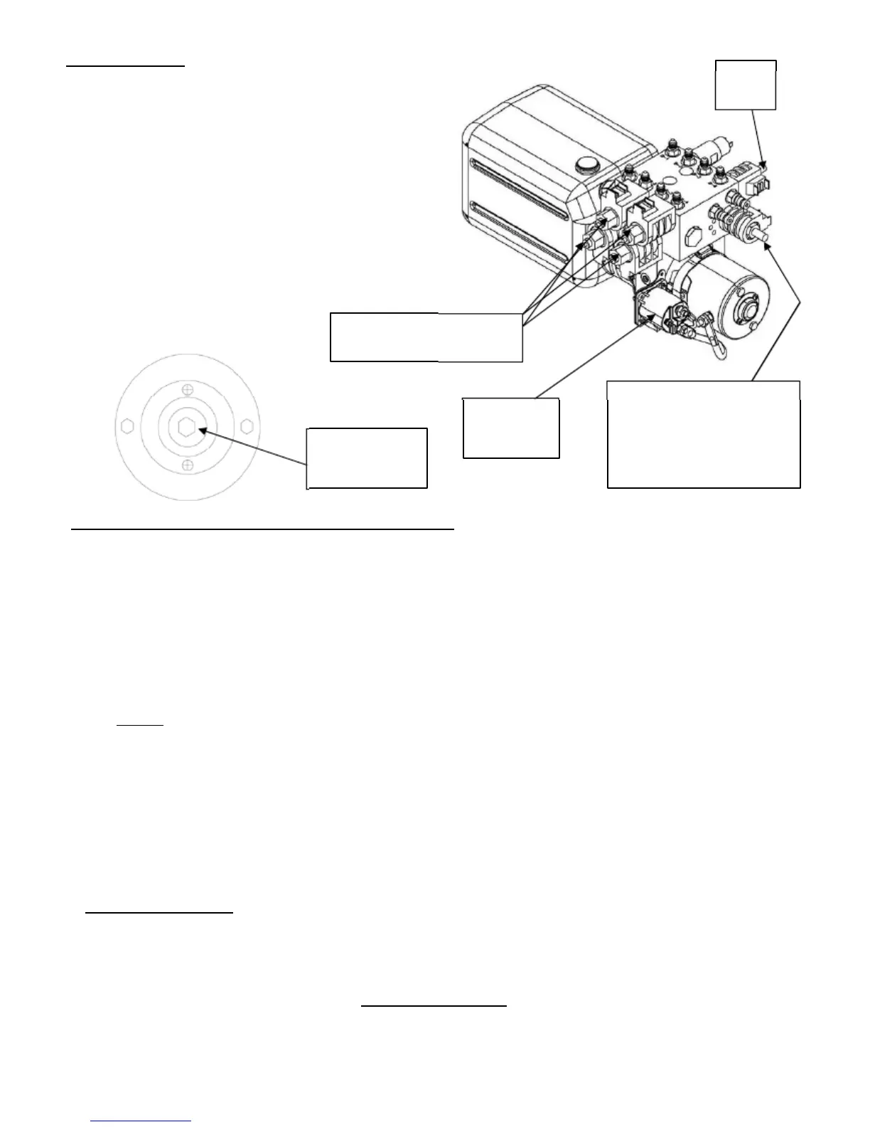
Uni-Directional
DV2
Valve
THIS PUMP IS IDENTIFIED BY A SINGLE MOTOR
SOLENOID AND A SINGLE POWER
POST ON THE MOTOR
The hydraulic pump assembly is equipped with a 7/16” hex
Coupler manual override output shaft.
Use a drill fitted with a 7/16” (11mm) Hex Socket.
The drill must be capable of producing a minimum of
2000 r.p.m. for the pump to develop adequate fluid
output.
Cartridge Valves
(4) shown
DV1 Valve
End of Motor
7/16” Hex
Coupler
Motor
Solenoid
One (1)
Identified by:
“DV1” stamped into
manifold
Coil wires: (1) Green, (1)
Black
Red Knurled Knob
To manually override (uni-directional pump assembly):
1) The individual cartridge valves are clustered together on the side of the pump manifold. Valves for leveling jacks are
labeled 1 thru 4. See the hose connection section in the Operations Manual to identify the valves for slide-out
functions. Locate the screws on the appropriate cartridge valve(s). Using a small flat blade screwdriver or a 1/8” Allen
wrench (depending on which valves you have), turn the
screw(s) clockwise until all the way in and lightly seated. An
individual slide-out room or leveling jack can be
manually overridden by only opening the valve associated with that
function.
2) Locate the DV2 Valve: This valve will be on the opposite side of the manifold from the cluster of cartridge valves.
Pull the red knob out and turn 1/4 turn by hand, or (depending on which valve you have) use a 1/8” Allen wrench and
turn the screw clockwise until seated. The valve will remain in the ‘out’ position.
3) To
retract, locate the red knurled knob on the directional valve: DV1 valve. This valve will be on the motor
side of the manifold. Pull the red knob out and turn 1/4 turn by hand. The knob will remain in the ‘out’ position.
Some pump assemblies may have an Allen screw, turn in (clockwise) till seated.
4) Remove the black plastic cap from the end of the motor. Use a small flat head screwdriver. Place the drill with
the 7/16” (1 1mm) hex bit on the manual override shaft located at the top of the motor. Run drill in a clockwise
direction at 2000 r.p.m. (minimum). The jack leg(s) will retract. Care must be taken to ensure the drill or socket does
not contact any wires or hoses.
5) When retraction is complete, return the cartridge valve(s) and the directional valves DV1 & DV2 to the
normal positions. Reinstall black plastic cap on motor.
To extend your jacks: Follow all of the above steps except DO NOT manually shift directional valve DV1 as
described in step #3 above.
!!!!!!!
Following manual override operation, return all valves to normal operational position. Failure to do so may result in drifting from
the
retracted (stowed) position of slide-outs or leveling jacks.
Cartridge valves: Rotate the center screw fully counter-clockwise until lightly seated.
DV2: (Depending on which valve you have) Turn the red knob and allow the valve handle to snap IN or Closed. Operate
this style valve by hand only- NO TOOLS! Or, DV2 may be turned counter-clockwise with a 1/8
Allen wrench.
8

Other manuals for Equalizer Systems Auto Level

Related product manuals