EasyManua.ls Logo

EQUATION EQ2-30L - Page 104

EQUATION EQ2-30L
110 pages
Print Icon
To Next Page IconTo Next Page
To Next Page IconTo Next Page
To Previous Page IconTo Previous Page
To Previous Page IconTo Previous Page
Loading...
104
ES
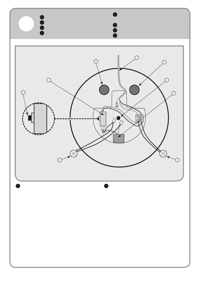
CONEXIÓN ELÉCTRICA
PT
LIGAÇÃO ELÉTRICA
IT
COLLEGAMENTO ELETTRICO
PL
PODŁĄCZENIA ELEKTRYCZNE
RU
 

UA
   
RO
CONEXIUNE ELECTRICĂ
EN
ELECTRICAL CONNECTION
7 6
2
1
48
5
3
9
3
ES
1 - Sobre el lavabo: Agua fría (anillo azul)
Bajo el lavabo: Agua caliente (anillo
rojo)
2 - Cable de alimentación
3 - Sobre el lavabo: Agua caliente (anillo rojo)
Bajo el lavabo: Agua fría (anillo azul)
4 - Elemento calefactor
5 - Termostato de regulación
6 - Luz de encendido
7 - Luz de calentamiento
8 - Fusible térmico
9 - Restablecimiento manual
PT
1 - Por cima do lava-loiça: Água fria
(círculo azul)
Por baixo do lava-loiça: Água quente
(círculo vermelho)
2 - Cabo de alimentação
3 - Por cima do lava-loiça: Água quente
(círculo vermelho)
Por baixo do lava-loiça: Água fria
(círculo azul)
4 - Elemento de aquecimento
5 - Termóstato de regulação
6 - Luz de alimentação
7 - Luz de aquecimento
8 - Limitador da temperatura
9 - Reinício manual

Related product manuals