EasyManua.ls Logo

ESAB EPP-400 - Page 63

ESAB EPP-400
Print Icon
To Next Page IconTo Next Page
To Next Page IconTo Next Page
To Previous Page IconTo Previous Page
To Previous Page IconTo Previous Page
Loading...
63
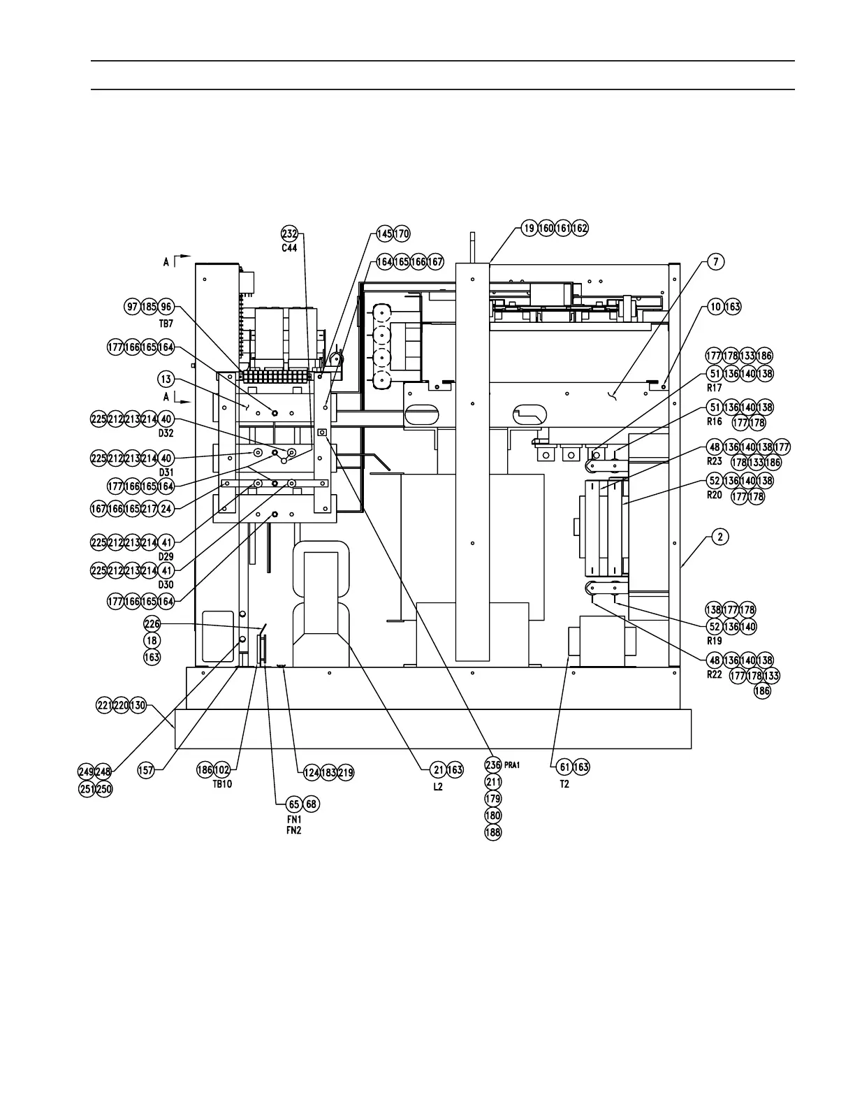
SECTION 7 REPLACEMENT PARTS

Related product manuals