EasyManua.ls Logo

EUFAB CROW - Page 17

EUFAB CROW
Print Icon
To Next Page IconTo Next Page
To Next Page IconTo Next Page
To Previous Page IconTo Previous Page
To Previous Page IconTo Previous Page
Loading...
17
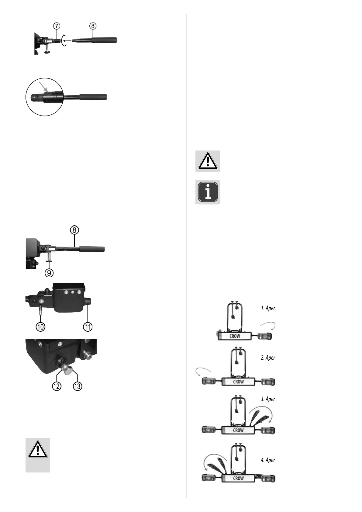
Avvitare la leva di bloccaggio (8) nell‘apposito alloggiamento (7)
dell‘aggancio rapido. Avvitare la  lettatura completamente all‘interno
dell‘alloggiamento e stringere la prolunga della leva con una chiave per
viti (la leva di bloccaggio presenta una super cie per chiave da 17, vedi
gura 8).
Accertarsi che il gancio di traino non sia danneggiato e sia pulito e senza
grasso. Rimuovere l’eventuale vernice dalla sfera del gancio.
Prima di applicare il portabiciclette sul gancio di traino occorre
familiarizzarsi con il sistema di aggancio rapido.
Il sistema di aggancio rapido è costituito da un elemento con leva di
bloccaggio (8). Azionando la leva, l‘aggancio rapido si apre o si chiude. Con
l‘ausilio del perno di  ssaggio (9) e del lucchetto (10), l‘aggancio rapido si
blocca e si chiude a chiave.
Posteggiare il veicolo su una super cie piana. Tirare il freno a mano.
Estrarre il perno di  ssaggio dell‘aggancio rapido e ruotarlo di 90° per
impedire che si blocchi di nuovo. Aprire l‘aggancio rapido sollevando la leva
di bloccaggio.
Collocare il portabiciclette sul gancio di traino dall‘alto in orizzontale.
Abbassare la leva dell‘aggancio rapido (con una forza di ca. 35-40 kg)  no a
battuta (la leva rimane in posizione orizzontale).
Controllare che il portabiciclette sia  ssato al gancio di traino in maniera
sicura (e che non possa più ruotare). In caso contrario, regolare l‘aggancio rapido.
Sollevare la leva di bloccaggio e rimuovere il portabiciclette dal
gancio di traino. Rimuovere il cappuccio (11) dalla vite di registro (13).
Allentare il controdado (12) della vite di registro e avvitare la vite di regolazione
dell‘aggancio rapido di un quarto di giro. Quindi, stringere di nuovo il
controdado.
Collocare il portabiciclette nuovamente sul gancio di traino e controllare
che sia  ssato in modo sicuro. Ripetere eventualmente la regolazione  no a
quando il portabiciclette non è  ssato in maniera sicura. Premere di nuovo
il cappuccio sulla vite di registro.
Se non è più possibile ruotare il portabiciclette sul gancio di traino, ruotare il
perno di  ssaggio dell‘aggancio rapido per farlo innestare. Quindi chiudere
l‘aggancio rapido con il lucchetto fornito in dotazione ed estrarre la
chiave dal lucchetto. Conservare la chiave accuratamente in un luogo sicuro.
A questo punto, il portabiciclette è anche a prova di furto.
Controllare regolarmente per accertare che il supporto sia perfettamente
ssato al gancio di traino e controllare anche il  ssaggio delle biciclette sul
supporto. Controllare anche regolarmente il funzionamento dell’impianto
luci del proprio portabiciclette.
Il lucchetto è sempre necessario quando si usa il
portabiciclette. Il portabiciclette deve essere usato
solamente se il lucchetto è applicato correttamente
e chiuso a chiave. Il lucchetto è fondamentale per la
sicurezza.
Accertarsi sempre che il controdado della vite di
registro sia ben serrato!
Leggere tracce di pressione sulla sfera del gancio sono
normali e non pregiudicano il funzionamento.
Figura 7: Montaggio leva di bloccaggio
Figura 9: Aggancio rapido
Figura 10: Lucchetto/cappuccio di
protezione
Figura 11: Vite di registro
Figura 8: Super cie per chiave
5.1.3 MONTAGGIO DELLA LEVA DI BLOCCAGGIO
5.2 MONTAGGIO DEL PORTABICICLETTE SUL GANCIO DI TRAINO
ATTENZIONE
Aprire il portabiciclette come illustrato nelle seguenti  gure.
5.3 APERTURA DEL PORTABICICLETTE
1. Apertura del fanale posteriore di destra
2. Apertura del fanale posteriore di sinistra
3. Apertura dei binari di destra
4. Apertura dei binari di sinistra
1. Apertura del fanale posteriore di destra
2. Apertura del fanale posteriore di sinistra
3. Apertura dei binari di destra
4. Apertura dei binari di sinistra

Related product manuals