EasyManua.ls Logo

Fagor FFJA4845X - Page 26

Fagor FFJA4845X
32 pages
Print Icon
To Next Page IconTo Next Page
To Next Page IconTo Next Page
To Previous Page IconTo Previous Page
To Previous Page IconTo Previous Page
Loading...
26
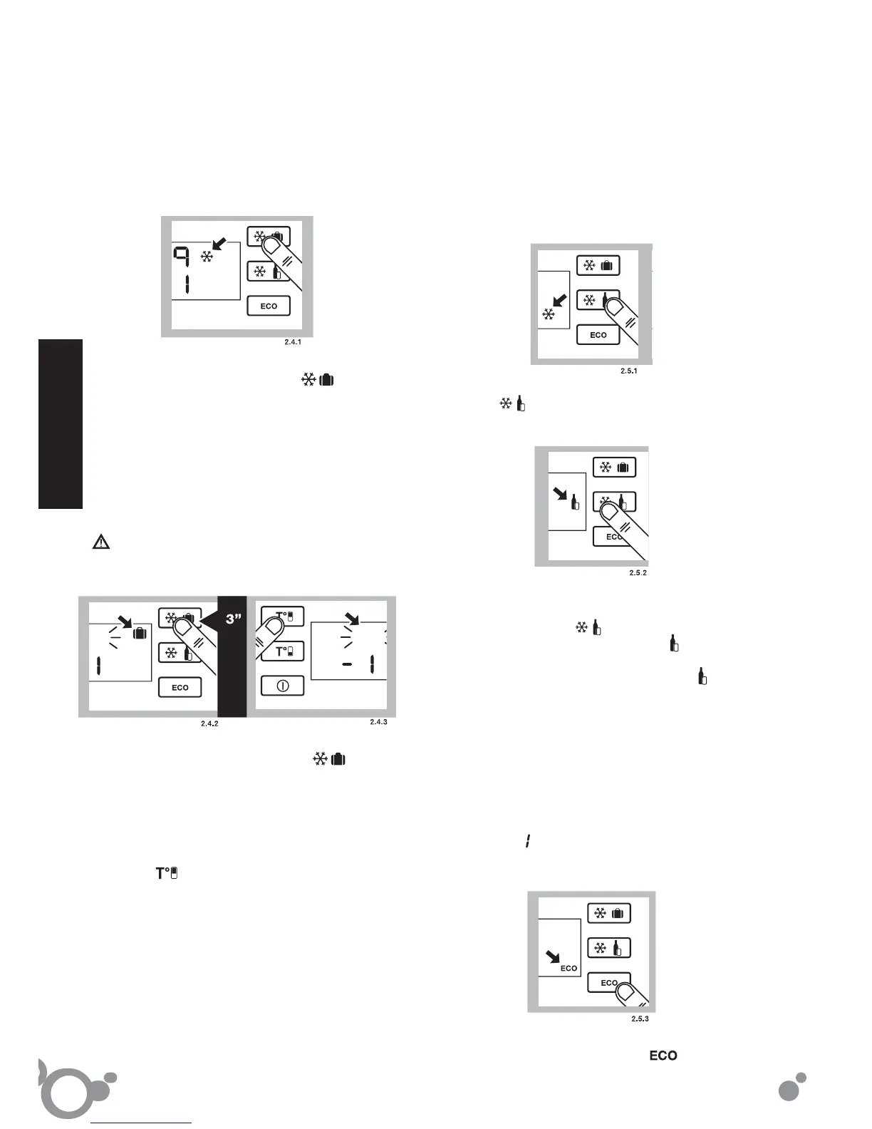
2.4 Funciones refrigerador.
Función enfriamiento rápido: Esta
función activa el refrigerador, con la
temperatura más fría, durante 6 horas.
Se recomienda activarla al introducir en el
refrigerador gran cantidad de alimentos.
ºF
Para activar y desactivar: Pulsa (2.4.1).
Función vacaciones: La función
vacaciones es muy útil cuando no vas a
usar el refrigerador en un largo periodo de
tiempo, pero se quiere conservar alimentos
en el congelador. Con esta función, tu
frigorífi co mantendrá un consumo muy
bajo y no generará olores en su interior.
Advertencia: Antes de habilitar esta
función, vacíe el refrigerador, límpielo y
cierre la puerta.
ºF
ºF ºF
Para activar y desactivar: Pulsa
durante 3 segundos (2.4.2). Para
desactivar, repite la operación.
Este modelo permite que el compartimento
del refrigerador esté desconectado.
Pulsa (2.4.3), hasta que no se visualice
dígito alguno.
Compartimento multifresh. Su baja
temperatura y humedad, justo por
encima del punto de congelación, son las
condiciones ideales para guardar carnes y
pescado, durante el doble de tiempo que
con un frigorífi co estándar.
2.5 Funciones congelador.
Función enfriamiento rápido: Esta función
activa el congelador, con la temperatura más
fría, durante 52 horas. Se recomienda activarla
24 horas antes de introducir en el congelador
gran cantidad de comida.
Para activar y desactivar:
Pulsa
(2.5.1).
Función quick cooling:
Introduce la botella o botellas en el congelador
y mantén pulsado
durante unos
segundos hasta visualizar el icono
(2.5.2).
El congelador suministrará frío durante 15
minutos, pasado este tiempo la función habrá
terminado y parpadeará activando una alarma
sonora durante 20 minutos. La alarma puede
ser desactivada pulsando cualquier tecla. Si
esta función es interrumpida por un corte de
suministro eléctrico, a su regreso, la función se
considera terminada y se activa la señal sonora.
Función ECO: La función ECO permite al
congelador permanecer a una temperatura
estable de ºF, generando un sustancial ahorro
de energía. Esta función continua activada aun
después de una desconexión eléctrica.
Para activar / desactivar pulsa (2.5.3).
español

Related product manuals