EasyManua.ls Logo

FARFISA INTERCOMS EX3160PL - Page 9

FARFISA INTERCOMS EX3160PL
12 pages
Print Icon
To Next Page IconTo Next Page
To Next Page IconTo Next Page
To Previous Page IconTo Previous Page
To Previous Page IconTo Previous Page
Loading...
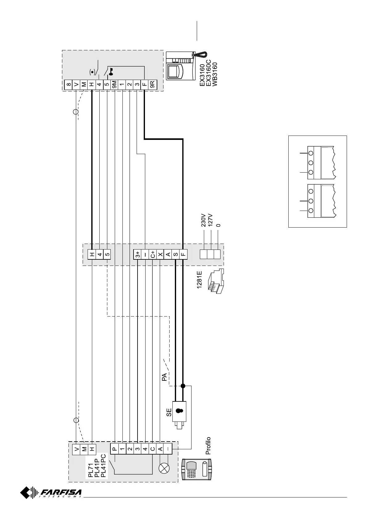
- 9 - Mi 2391
127V0 230V
110-127Vac 220-230Vac
127V0 230V
art. 1281E
IMPIANTO VIDEOCITOFONICO MONOFAMILIARE
INSTALLATION VIDEOPHONIQUE A UN DIRECTION
INSTALAÇÃO DE VÍDEO-PORTEIRO MONOFAMILIAR
ONE-FAMILY VIDEOINTERCOM SYSTEM
SISTEMA DE VIDEOPORTERO MONOFAMILIAR
EINFAMILIEN-VIDEOSPRECHANLAGE
PA = Pulsante apriporta (opzionale)
Door release push-button (optional)
Bouton-poussoir ouvre porte (optionnel)
Pulsador abrepuerta (opcional)
Botão para abrir a porta (opcional)
Türöffnertaste (Zusatztaste)
SE = Serratura elettrica (12Vca-1A max.)
Electric door lock (12VAC-1A max)
Gâche électrique (12Vca-1A max)
Cerradura eléctrica (12Vca-1A máx.)
Fechadura eléctrica (12Vca-1A max)
elektrisches Türschloss (12Vca-1A max)

Related product manuals