EasyManua.ls Logo

FATEK FBe-40MA - Page 75

FATEK FBe-40MA
86 pages
Print Icon
To Next Page IconTo Next Page
To Next Page IconTo Next Page
To Previous Page IconTo Previous Page
To Previous Page IconTo Previous Page
Loading...
FB Series SIO Driver
GP-Pro EX Device/PLC Connection Manual
75
8E)
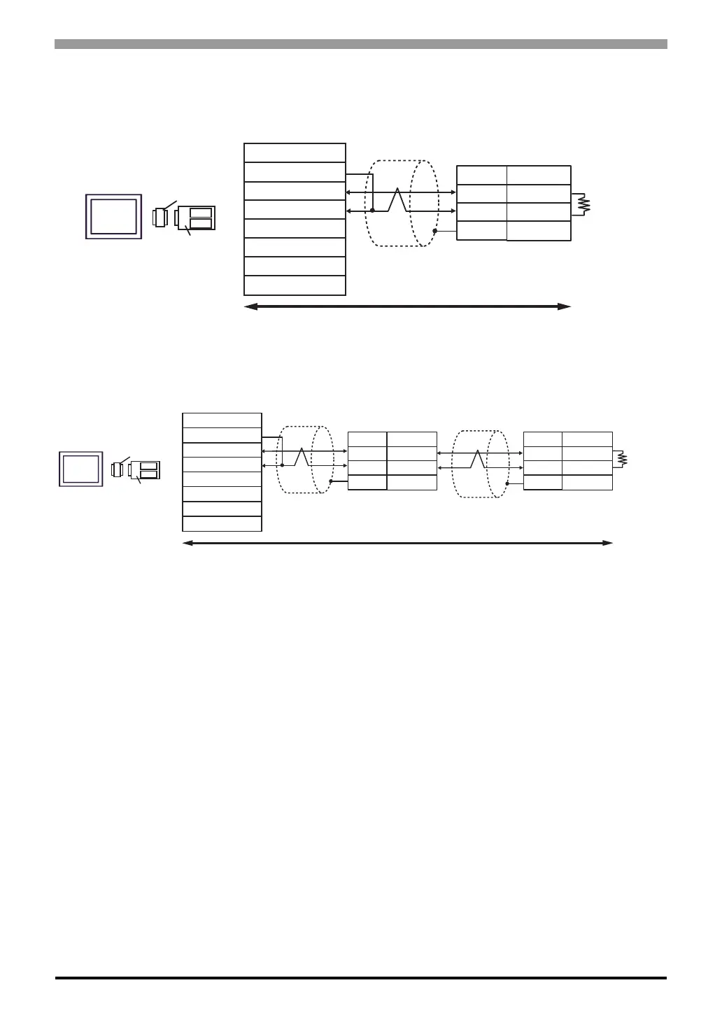
• 1:1 Connection
• 1:n Connection
CA3-ADPCOM-01
CA3-ADPTRM-01
Display
User-created Cable
120
(1/4W
Terminal
resistance
Ω
D-Sub 15 pin (plug)
External Device
5
7
10
Signal name
D+
D-
FG
Pin
Signal name
RDB
SDB
SG
FG
Display
Terminal block
RDA
SDA
Shield
TERM
CA3-ADPCOM-01
CA3-ADPTRM-01
Display
User-created Cable
Shield
120
(1/4W
)
Terminal
resistance
Ω
D-Sub 15 pin (plug)
External Device
5
7
10
Signal name
D+
D-
FG
Pin
D-Sub 15 pin (plug)
External Device
5
7
10
Signal name
D+
D-
FG
Pin
Signal name
RDB
SDB
SG
FG
Display
Terminal block
RDA
SDA
Shield
TERM

Related product manuals