EasyManua.ls Logo

Felder AD 951 - 7.3 Зацврстете го поклопецот на вшмукувачот за транспорт; 7.4 Склопување на шипката; 7.5 Монтирајте го поклопецот на главата за глодање

Felder AD 951
72 pages
Print Icon
To Next Page IconTo Next Page
To Next Page IconTo Next Page
To Previous Page IconTo Previous Page
To Previous Page IconTo Previous Page
Loading...
27
10 mm
!
"
#
$
%
&
/
(
!
"
#
$
%
&
/
(
!
"
#
$
%
&
/
(
"
#
!
!
Planer-Thicknesser
A 941 / AD 941 / AD 951
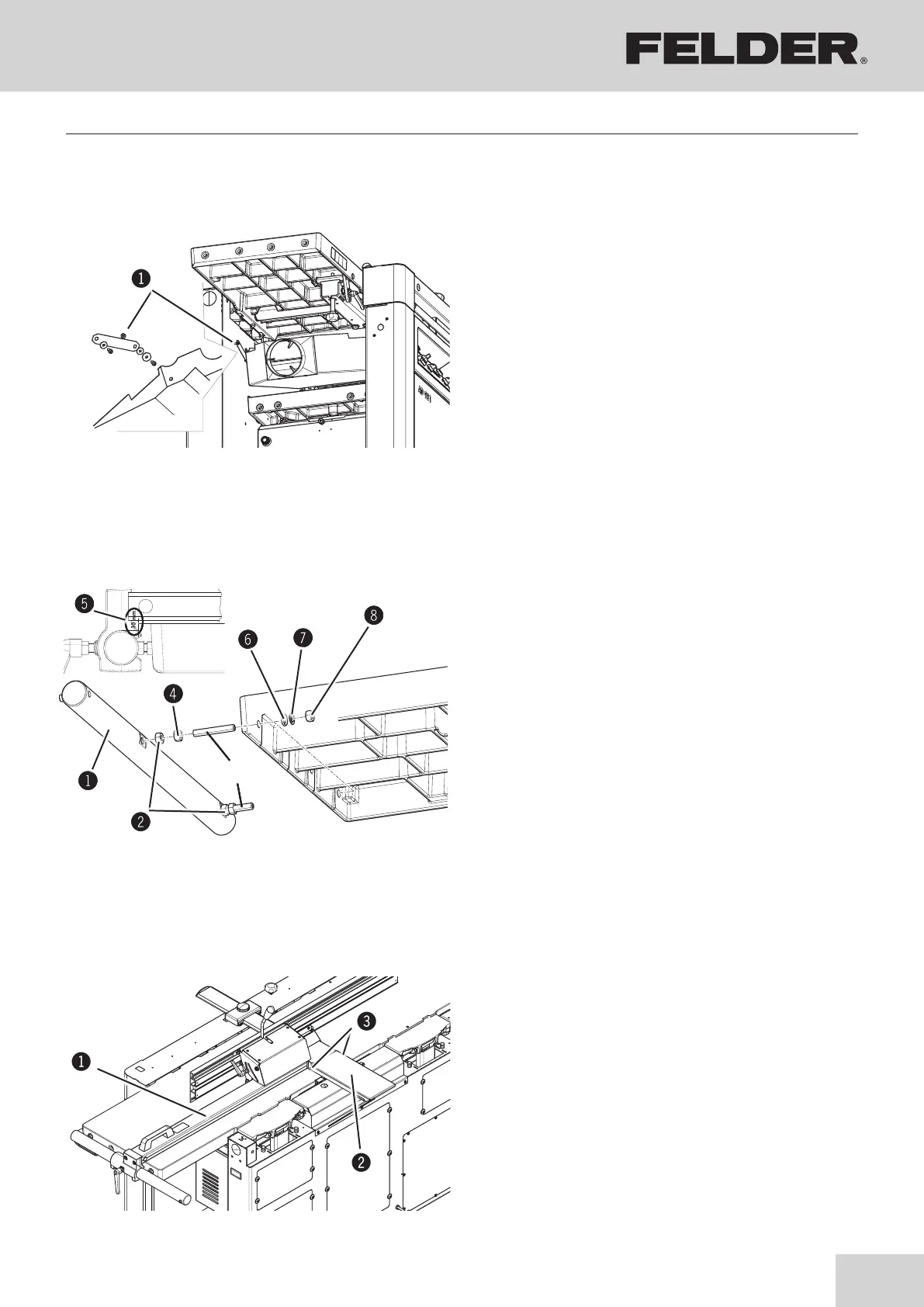
7.3 Securing the vacuum hood for transport
Fig. 7-2: Transport safety plates
Transport safety plates
Safety plates are screwed onto the exhaust hood for
transport purposes. These must be removed prior to
operation.
!Transport safety sheet
1. Mount the planer fence:
- Place the planer fence on the feeding surface pla-
ner table.
2. Mount the rear cutterblock cover:
- Cover: insert into the combination fence
- Clamping screw: tighten
!Planer fence
"Cover
#Clamping screw
Screw in Bolt, in Bar and counter it with nut.
Screw up nut on Bolt and fix it on the Jointer tables by
using ball socket pairs and nut. Afterwards adjust the mea-
surement by adjusting nut.
!Bar
"Nut 1
#Setscrew
$Nut 2
%Messschieber
&Ball socket 1
/Ball socket 2
(Nut 3
Fig. 7-3: Bar
7.4 Assembling the bar
Fig. 7-4: Bridge guard
7.5 Mount the rear cutterblock cover
Setup and installation

Table of Contents

Related product manuals