EasyManua.ls Logo

Felder RL 350 - Collector Casters (Optional Equipment: Rotary Feeder); Vacuum Connector Assembly

Felder RL 350
48 pages
Print Icon
To Next Page IconTo Next Page
To Next Page IconTo Next Page
To Previous Page IconTo Previous Page
To Previous Page IconTo Previous Page
Loading...
23
ISK 6
$
%
&
"
#
!
"
!
#
Dust Extractor
RL 250 / RL 300 / RL 350
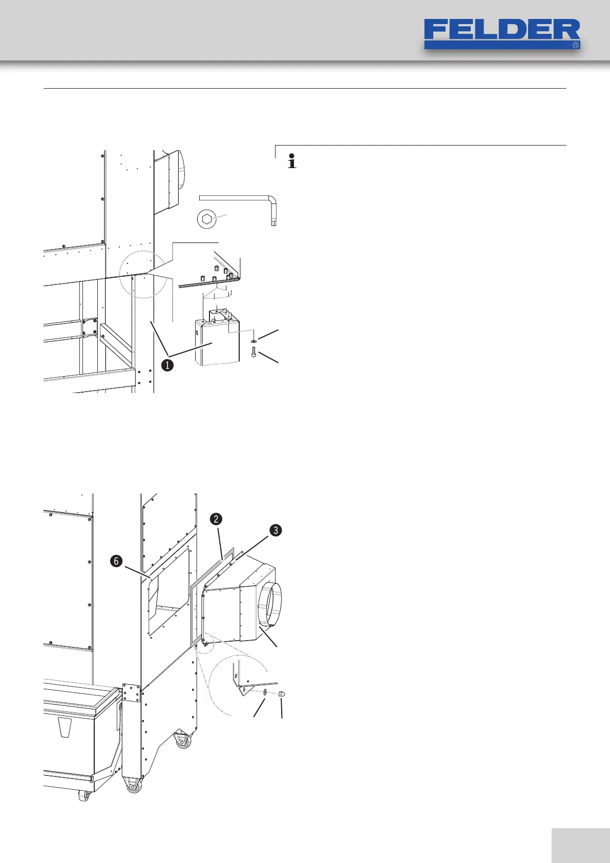
Assembling casters to the dust extractor:
!Collector casters
"Allen screws
6 pcs. - M8 x 25 mm
#Shims
Fig. 6-3: Collector casters
Assembling casters to the dust extractor:
!Collector casters
"Allen screws
6 pcs. - M8 x 25 mm
#Shims
Fig. 6-3: Collector casters
1. Vacuum connector assembly.
2. Stick sealing tape to the bottom of the connection
plate.
3. Screw connection plate to the machine with nuts and
washers. (15 x).
Remove the oxidation protective layer from all blank
machine parts.
!Vacuum connector
"Sealing tape.
§Connection plate
$Shims
%cap nut
&Basic extractor
6.2.5 Vacuum connector assembly
Fig. 6-4: Vacuum connector assembly
Setup and installation
6.2.4 Collector casters (Optional equipment: Rotary feeder)
Note:
The assembly may only be undertaken by an authorised
customer service technician.
Assembling on your own authority may result in personal
injury or material damage.

Table of Contents

Related product manuals