EasyManua.ls Logo

Fermax Cityline - Centralised Keypad Systems

Fermax Cityline
60 pages
Print Icon
To Next Page IconTo Next Page
To Next Page IconTo Next Page
To Previous Page IconTo Previous Page
To Previous Page IconTo Previous Page
Loading...
50
VDS - DIRECT - DIGITVDS - DIRECT - DIGIT
VDS - DIRECT - DIGITVDS - DIRECT - DIGIT
VDS - DIRECT - DIGIT
AL - KITAL - KIT
AL - KITAL - KIT
AL - KIT
s 199s 199
s 199s 199
s 199
VDS - DIRECT - DIGITVDS - DIRECT - DIGIT
VDS - DIRECT - DIGITVDS - DIRECT - DIGIT
VDS - DIRECT - DIGIT
AL - KITAL - KIT
AL - KITAL - KIT
AL - KIT
s 199s 199
s 199s 199
s 199
5.-
E
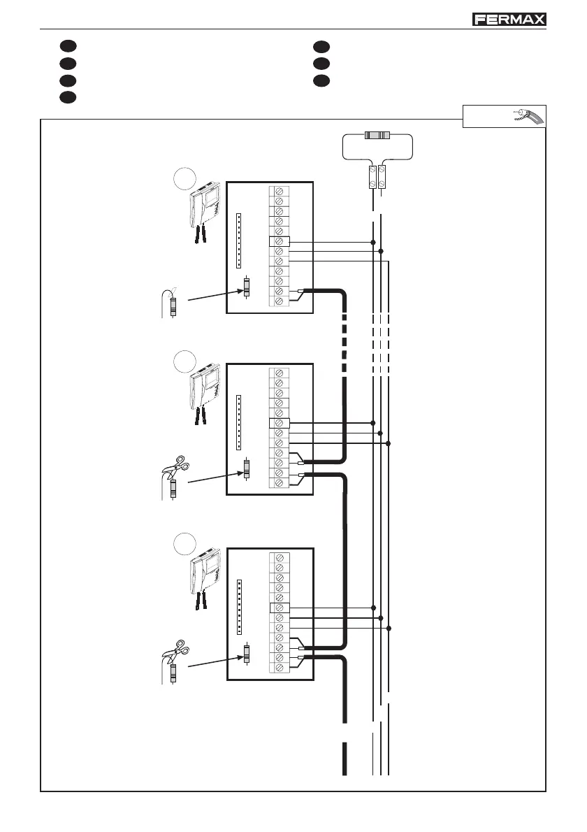
Monitores en cascada
EN
Monitors in cascade
F
Moniteurs en cascade
D
Monitore in Kaskadenfolge
P
Monitores em cascata
IT
Monitores a cascata
R
Каскадное расположение
мониторов
Loft
CT
+
M
V
M
V
F1
T
A
L
-
F2
CN1
+
L
10 Kohm
CT
+
M
V
M
V
F1
T
A
L
-
F2
CN1
CT
+
M
V
M
V
F1
T
A
L
-
F2
CN1
R
R
R
n
2
1
+
L
-
COAX
VDSVDS
VDSVDS
VDS

Table of Contents

Other manuals for Fermax Cityline

Related product manuals