EasyManua.ls Logo

Ferrari 346 - Page 27

Ferrari 346
64 pages
Print Icon
To Next Page IconTo Next Page
To Next Page IconTo Next Page
To Previous Page IconTo Previous Page
To Previous Page IconTo Previous Page
Loading...
- 27 -
Usare lo stesso olio del motore. Per i motori che hanno il filtro
aria con elemento filtrante di carta occorre pulirlo con aria
oppure sostituirlo se è molto intasato.
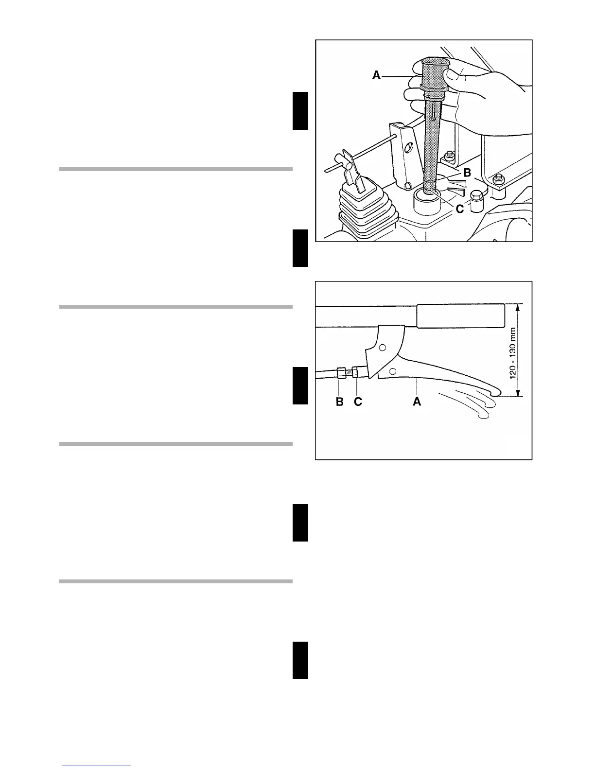
SCATOLA CAMBIO: controllare il livello dell’olio ogni 50 ore di
lavoro togliendo il tappo A e verificando che, a macchina
orizzontale, l’olio arrivi tra le due tacche B/C (fig.23). Se oc-
corre, aggiungere olio per cambi AGIP ROTRA MP SAE 80W
/90 (rif. US.A.MIL L 2105C).
I
Use the same oil as for engine. For the engines having the air
filter with the paper filter, clean this element with air or
replace if it is very obstructed.
GEARBOX: Check oil level every 50 hours of work removing
plug A and check that, with horizontal machine, oil reaches the
two notches B/C (fig.23). If necessary, add gearbox oil AGIP
ROTRA MP SAE 80W /90 (rif. US.A.MIL L 2105C).
GB
Utiliser la même huile que pour le moteur. Pour les moteurs
qui ont le filtre à air avec élément filtrant en papier, le net-
toyer à l’air comprimé ou le remplacer s’il est très obstrué.
BOITE DE VITESSES: contrôler le niveau de l’huile toutes les
50 heures de travail en ôtant le bouchon A et en contrô-lant
que, avec la machine horizontale, l’huile atteigne les deux
marques B/C (fig.23). Si nécessaire, ajouter de l’huile pour
boîte de vitesses AGIP ROTRA MP SAE 80W /90 (rif.
US.A.MIL L 2105C).
F
Gebruik dezelfde oie als voor de motor. Voor machines die
een luchtfilter met papier hebben dient dit element met lucht
schoongeblazen te worden, of wanneer het erg vuil is te
vervangen.
VERSNELLINGSBAK:
Controleer het oliepijl om de 50
werkuren, verwijder plug A
en controleer met horizontale
machine, de olie dient tussen de inkepingen B en C te
bevinden (fig.23). zo nodig olie bijvullen AGIP ROTRA MP
SAE 80W /90 (rif. US.A.MIL L 2105C).
NL
Mit der gleichen, für die Motorschmierung benutzen Ölsorte
auffüllen. Der Luftfilter mit filtrierendem Papierelement muß
mit Luftdruck gereinigt werden. Sollte es sehr verstopft sein,
muß er ersetzt werden.
GETRIEBEKASTEN: Den Ölstand in Zeitabständen von je-
weils 50 Betriebsstunden nach Entfernen der Füllschraube A
kontrollieren. Bei flachsstehender Maschine muß das Öl zu
den beiden Rädern B/C (Bild 23) reichen. Beim Bedarf mit
Getriebeöl AGIP ROTRA MP SAE 80W /90 (rif. US.A.MIL L
2105C) auffüllen.
D
23
24

Table of Contents

Related product manuals