EasyManua.ls Logo

Festool ES 150/3 EQ - Before Using Sander; Safety Instructions; Correct Usage; Noise and Vibration Information

Festool ES 150/3 EQ
7 pages
Print Icon
To Next Page IconTo Next Page
To Next Page IconTo Next Page
To Previous Page IconTo Previous Page
To Previous Page IconTo Previous Page
Loading...
7
1 Before using sander
1.1 Safety instructions
Read the safety instructions on the
attached sheet before using the sander.
Always wear protective goggles
because of possible dangers when
sanding.
The manufacturers handling and processing
instructions must be observed without fail if
explosive or self-igniting dusts are likely to
occur during sanding.
The electric tool must be connected to a suitable
dust extraction unit and applicable safety
regulations must be observed if dusts
dangerous to health are likely to occur during
sanding.
Wear a dust mask for your own safety.
1.2 Correct usage
The sanders are designed for sanding wood,
plastic, composite materials, paint / varnish,
filling material and similar materials.
Metal and materials with an asbestos content
must not be processed with these tools.
The machines must not be damp nor operated
in a damp environment for electrical safety
reasons. The machines may only be used for
dry sanding.
The user bears sole responsibility for any
damage or accidents resulting from incorrect
use.
1.3 Noise and vibration information
Typical values established in compliance with
EN 50 144:
Sound pressure level 70 dB(A)
Measured acceleration
ES 150/3 EQ 4.0 m/s²
ES 150/5 EQ 6.0 m/s²
The noise level can exceed 85 dB(A)
during work.
Wear ear protectors!
2 Electrical connection and operation
The mains voltage must
correspond with the voltage on the
rating plate!
Switch (1.2) is an on/off switch.
For continuous use it can be engaged with the
lateral locking button (1.3). Pressing the switch
again releases the lock.
See Fig. 3 for connection and disconnection of
the power cable.
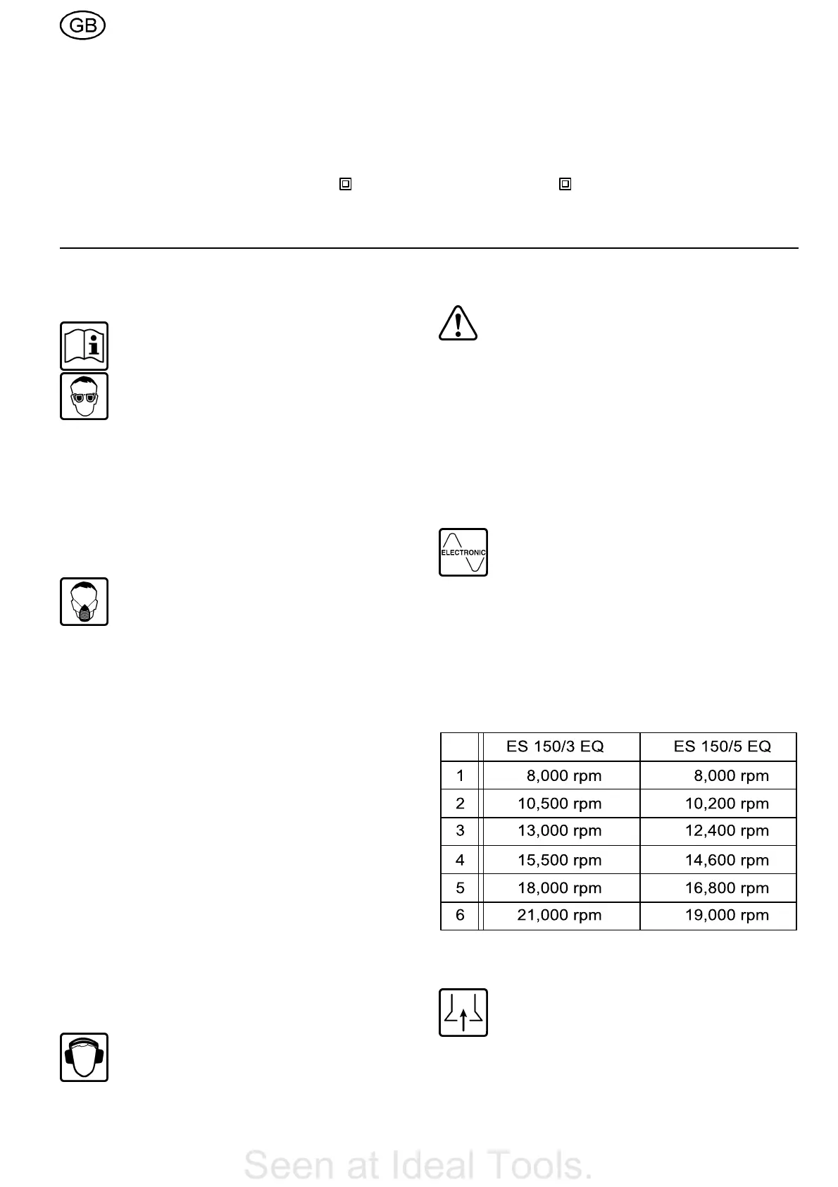
3 Electronic control
The ES 150/3 EQ, ES 150/5 EQ has an
electronic control with which the
rotational speed can be varied step-
free.
This allows the sanding speed to be adapted to
the optimum level according to the material
concerned. The speed is set using the rotary
control button (1.1).
The numbers on the rotary control button
represent approximately the following stroke/
orbit speeds:
4 Dust extraction
Dust extractors prevent large
accumulations of dust in the air in the
working environment and dirt collecting
in the workplace.
4.1 Inboard extraction
The machines are fitted with inbuilt extraction
as standard.
Technical data ES 150/3 EQ ES 150/5 EQ
Wattage 310 W 310 W
Speed 4,000 - 10,500 rpm 4,000 - 9,000 rpm
Power stroke 8,000 - 21,000 rpm 8,000 - 19,000 rpm
Sanding stroke 3.0 mm 5.0 mm
Sanding base Æ 150 mm Æ 150 mm
Weight 1.8 kg 1.8 kg
Degree of protection / II / II
The specified illustrations can be found at the beginning of the operating instructions.
Seen at Ideal Tools.

Other manuals for Festool ES 150/3 EQ

Related product manuals