EasyManua.ls Logo

Festool PS 420 EBQ - Page 45

Festool PS 420 EBQ
49 pages
Print Icon
To Next Page IconTo Next Page
To Next Page IconTo Next Page
To Previous Page IconTo Previous Page
To Previous Page IconTo Previous Page
Loading...
45
Serrado con la mesa angular
La mesa angular WT-PS 400 sirve para serrar tu-
bos, así como ángulos interiores y exteriores de
hasta 45°.
Cuando se trabaja con la mesa angular no
puede conectarse ningún equipo de aspira-
ción.
Montaje de la mesa angular
Extraer la mesa de serrar
[1-11]
(véase el capí-
tulo ).
Colocar la mesa angular en el alojamiento de la
mesa de serrar.
Cerrar la palanca de cambio
[1-9]
.
Asegurarse de que la mesa angular quede bien su-
jeta en la guía.
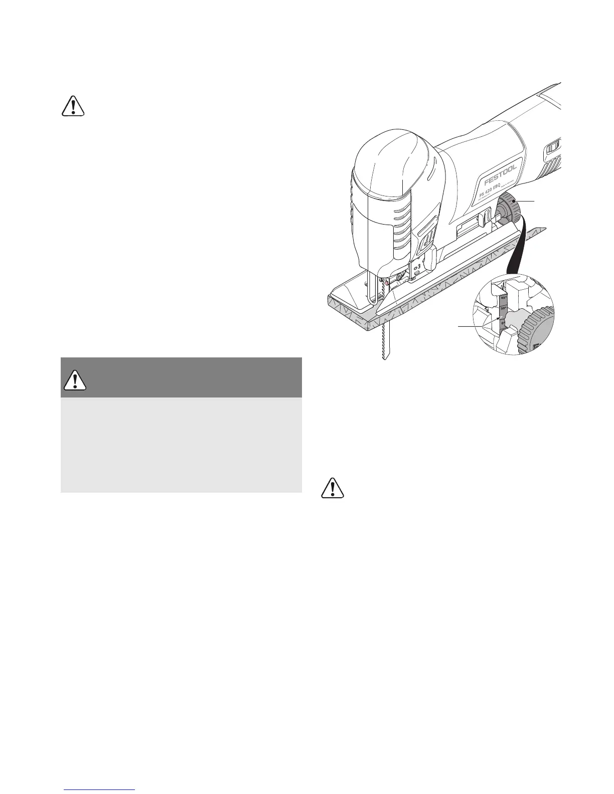
Ajuste del ángulo
Girar la rueda de ajuste
[8-1]
para ajustar el án-
gulo deseado.
Con ayuda de la escala
[8-2]
se pueden ajustar los
valores -45°, 0° y +45°.
Para cortes de 0° recomendamos ajustar la
mesa angular a un número de grados ligera-
mente negativo con el fin de garantizar una
marcha estable.
Serrado con la mesa de adaptación
La mesa de adaptación ADT-PS 400 sirve para fijar
su caladora en el riel de guía Festool, en el compás
circular KS-PS 400 y en el sistema de módulos
CMS.
Con el riel de guía y el compás circular:
res-
petar el grosor máx. del material de 20 mm y
utilizar solo hojas de sierra triscadas (FSG).
Montaje de la mesa de adaptación
Extraiga la mesa de serrar
[1-11]
, (véase el ca-
pítulo Cambio de la mesa de serrar).
Coloque la mesa de adaptación
[9-1]
en el aloja-
miento de la mesa de serrar.
Cierre la palanca de cambio
[1-9]
.
Asegúrese de que la mesa de adaptación quede
bien sujeta en la guía.
Utilice los racores de aspiración
[1-8]
también
con la mesa de adaptación.
ADVERTENCIA
Serrado de profundidades de corte
Peligro de lesiones
Seleccionar la longitud de la hoja de sierra y la
profundidad de corte de forma que la hoja de
sierra quede siempre dentro de la pieza de tra-
bajo.
8-1
8
8-2

Related product manuals