EasyManua.ls Logo

Firepower FP-100 - Page 28

Firepower FP-100
34 pages
Print Icon
To Next Page IconTo Next Page
To Next Page IconTo Next Page
To Previous Page IconTo Previous Page
To Previous Page IconTo Previous Page
Loading...
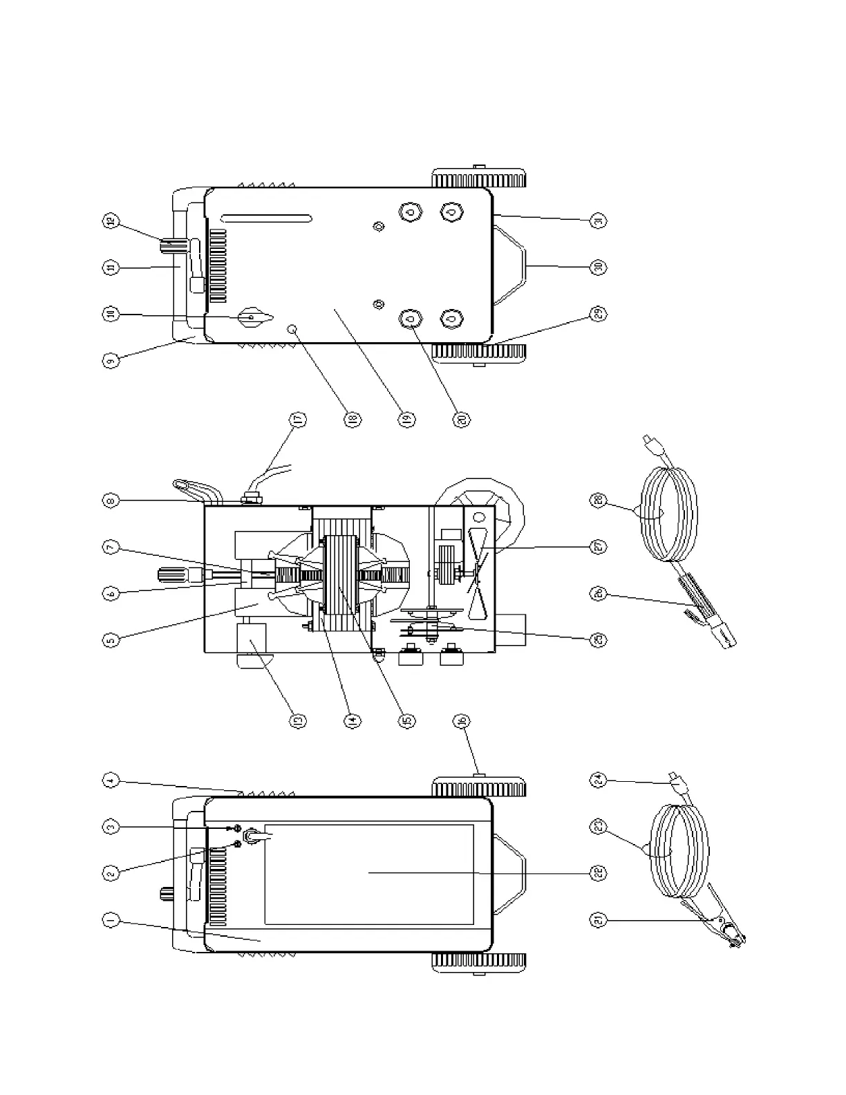
Figure 14: FP-235 AC/DC
25

Table of Contents

Related product manuals