EasyManua.ls Logo

Flott BSM 75 - Page 26

Default Icon
Print Icon
To Next Page IconTo Next Page
To Next Page IconTo Next Page
To Previous Page IconTo Previous Page
To Previous Page IconTo Previous Page
Loading...
370542 D/GB
25
GB
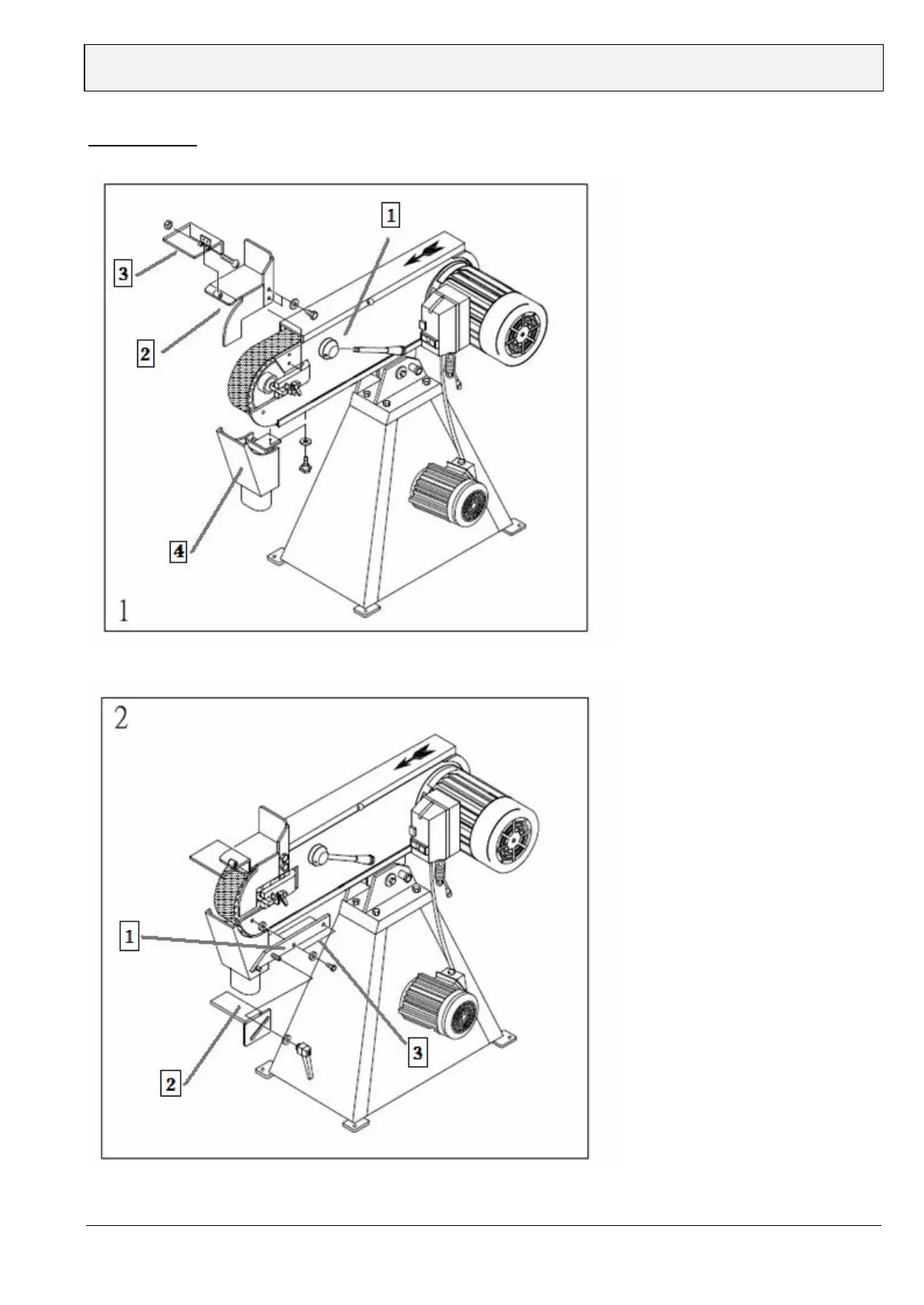
D. Assembly
1.
Install
the
belt tension bar.
2. Install the metal arrester.
3. Install the eye shield.
4. Install the dust tray.
1.
Install
the
tool rest
support.
2. Install the tool rest.
3. Adjust the tool rest support by
washer to make the tool rest
parallel to the belt.

Related product manuals