EasyManua.ls Logo

Fortune Z-Wave Plus v2 - Page 10

Fortune Z-Wave Plus v2
68 pages
Print Icon
To Next Page IconTo Next Page
To Next Page IconTo Next Page
To Previous Page IconTo Previous Page
To Previous Page IconTo Previous Page
Loading...
8
P/N YRD604-KD-BLE-0047 Rev A
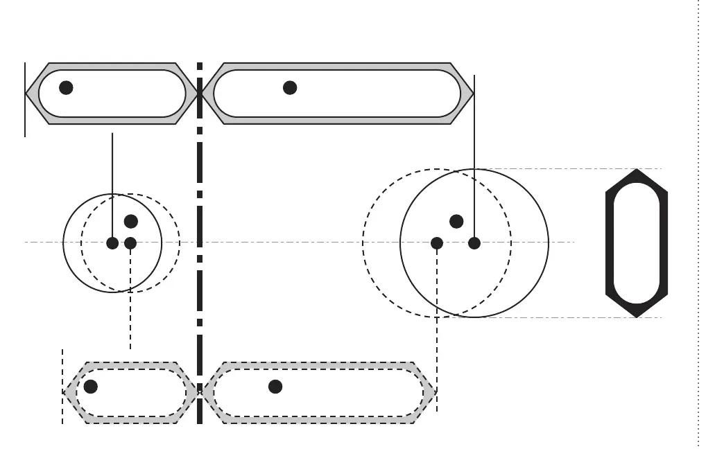
Marking Template for 11/2” (38mm) Face Bore
Center of
1” (25mm)
Edge Bore
Center of
1” (25mm)
Edge Bore
Centerline
Center of
11/2” (38mm)
Face Bore
Center of
11/2” (38mm)
Face Bore
11/2
I G
13/8” (35mm)
Door Thickness
B
23/8” (60mm)
Backset
E
13/4” (44.5mm)
Door Thickness
C
23/4” (70mm)
Backset
F
Tear Along the Dotted Line

Table of Contents