EasyManua.ls Logo

Foster F20 - F60 and F85 Technical Data and Operating Instructions; Technical Data; Start Up; Adjustments

Foster F20
23 pages
Print Icon
To Next Page IconTo Next Page
To Next Page IconTo Next Page
To Previous Page IconTo Previous Page
To Previous Page IconTo Previous Page
Loading...
3. F60 and F85 Technical Data and Operating Instructions
3.1 Technical Data
Model F60 F85
Output – kg/24hr 60 83
Bin storage capacity – kg 27 27
Cubes per cycle 48 48
Cubes kg per cycle 0.84 0.84
Cycle time – minutes 19.0 15.5
Amps start/run 19/4.1 26/5.5
Watts consumption (30°C Ambient Temp) 630 780
Water consumption (Water Temp at 15°C Air Temp 21°C) 12.0 16.0
Refrigerant R134A R134A
Refrigerant charge grams 450 grms 540 grms
Evaporator Temp with Gas Pressure at 10.5 Bar ( Ambient Temp 21°C) -10°C -26°C
Evaporator Temp with Gas Pressure at 7.5 Bar ( Ambient Temp 21°C) -6°C -25°C
Evaporator Temp with Gas Pressure at 13 Bar ( Ambient Temp 32°C) -10°C -28°C
Evaporator Temp with Gas Pressure at 8 Bar ( Ambient Temp 32°C) -7°C -24°C
Heat Emission, watts 1100 1400
Noise Level dBA at 2 meters 60 63
3.2 Start Up
After having correctly installed the ice machine and completed the plumbing and electrical connections, perform the following “Start-up”
procedure.
A. Switch on the power to the machine. The unit starts its first freezing cycle with the following components in operation:
COMPRESSOR
WATER PUMP
FAN MOTOR. (The condenser fan is controlled by a thermostat, which is factory set).
B. Check through the ice discharge opening that the spray plate is correctly seated and that the water jets uniformly reach the interior of the inverted
cup molds; also make sure that the plastic curtain is hanging freely and that water is not spilling through it excessively.
C. The ice making process takes place thereby, the water is sprayed into the molds which gets gradually refrigerated by the heat exchanged with
the refrigerant flowing into the evaporator serpentine.
D. When the evaporator temperature reaches a pre-set value (approximately -15°C) the evaporator thermostat changes its contacts and starts the
time clock, when the first timed portion has elapsed the freezing cycle ends and the second timed portion starts the defrost/harvest cycle.
Freezing time will range between 20 and 22 minutes (depending on model, see table) in a 21°C ambient. Longer time for temperature above,
shorter when below.
Average complete cycle range is about 23 to 25 minutes (depending on model, see table above)
E. Check, during the first defrost/harvest cycle, that the incoming water flows correctly into the sump reservoir in order to re-fill it and the surplus
overflows down the overflow drain tube.
During this cycle the components energised are:
COMPRESSOR.
HOT GAS SOLENOID.
WATER INLET SOLENOID VALVE.
TIMER MOTOR
FAN MOTOR (if ambient temperature exceeds 30°C).
Note. During the defrost cycle, the water inlet solenoid valve is energised. The
water flows through the valve to the back side of the evaporator platen and
then down to fill up the icemaker sump tank for the next freezing cycle.
C. Check the texture of the ice cubes just released. The correct size has a small
depression (about 5-6mm) in their crown. If not, wait for the second defrost/harvest
cycle before making any adjustments.
3.3 Adjustments
G. If after the second harvest the cubes are not correct adjustment to the cube size
thermostat may be necessary.
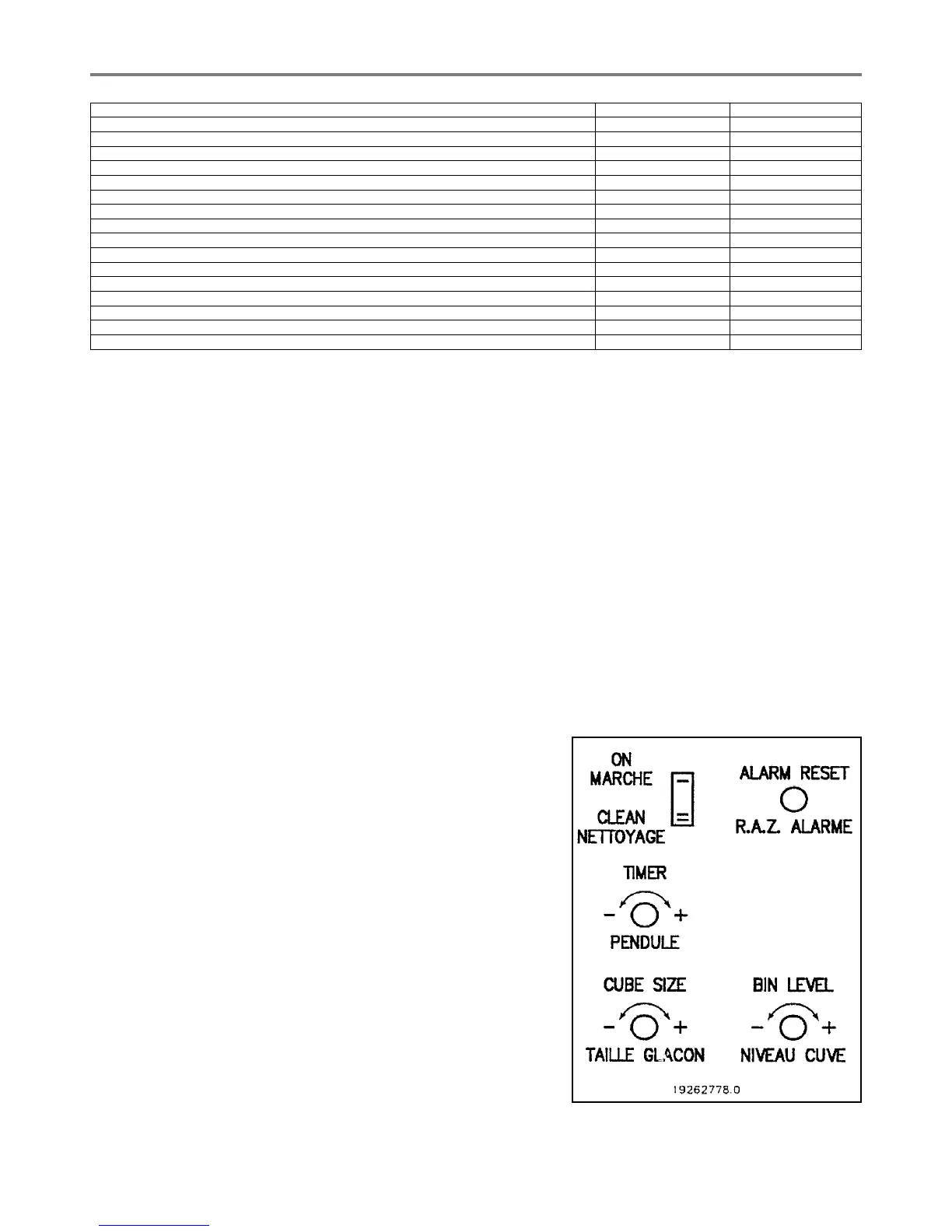
Using a flat bladed screwdriver turn towards the ‘+’ to increase the cube size and
towards the ‘-’ to decrease the cube size. (See fig 2)
H. To check the bin full thermostat hold a handful of ice against the bulb of the storage
bin thermostat, the ice maker will switch off in about one to two minutes.
Once the machine has stopped remove the ice and dispose of it, the machine will
restart automatically in three to four minutes.
Note. The bin thermostat is factory set at 1°C (35°F) CUT OUT and 4°C (39°F)
CUT IN. (The set temperature can be adjusted if required by using a flat bladed
screwdriver turn towards the ‘+’ to increase the bin temperature and towards
the ‘-‘ to decrease the bin temperature). (See fig 2)
Refit the bottom front panel then instruct the owner/user on the general operation
of the machine and about the cleaning and care it requires.
Fig 2
5
15. Circuit Board and Component
Sequence of Operation
Fig./ABB 1 Fig./ABB 2
Fig./ABB 3 Fig./ABB 4
Fig./ABB 5 Fig./ABB 6
Fig./ABB 7 Fig./ABB 8
START UP
START OF FREEZE CYCLE
PHASE 2 OF FREEZE CYCLELED CONSTANT CONDENSER TEMPERATURE HIGH
DEFROST CYCLE BIN FULL
STAND BY CLEANING
LED BLINKING EVAPORATOR
TEMPERATURE HIGH
(A) COMPRESSOR
(B) ICE LEVEL SENSOR
(C) SENSORS
(D) EVAP. TEMPERATURE
(E) COND. TEMPERATURE
(F) AMBIENT TEMP.
(O) WATER INLET VALVE
(P) HOT GAS VALVE
(Q) CONTRACTOR COIL
(R) FAN MOTOR
(S) WATER PUMP
(T) P.C. BOARD
(G) DP SWITCH
(H) ELECTRIC TIMER
(I) MICRO PROCESSOR
(L) TRANSFORMER
(M) RELAY
(N) TRIAC
20

Related product manuals