EasyManua.ls Logo

Frigidaire FAK124Q1V2 - Window Sizing and Installation Kit; Installation Kit Contents Overview; Window Dimension Requirements

Frigidaire FAK124Q1V2
10 pages
Print Icon
To Next Page IconTo Next Page
To Next Page IconTo Next Page
To Previous Page IconTo Previous Page
To Previous Page IconTo Previous Page
Loading...
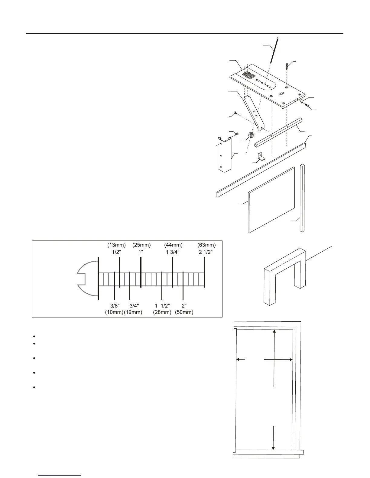
1. Make sure you have all the necessary parts.
Installation kit contents:
1. Platform (1)
2. Support brace (1)
3. Adjustment bolt (1)
4. Hex flange nut - 1/4" (1)
5. Track seal (1)
6. Side channel seal (1)
7. Foam seal strip/Sash seal
8. Safety bracket (1)
9-11. Screw - #10x2-1/2" flat-head (2), OR
Screw - #10xl-3/4" pan-head (2), OR
Screw - #10xl" pan-head (2)
12. Screw - #8x3/4" pan head (6)
13. Screw - #8-32x3/4" self-threading (7)
14. Window locking bracket (1)
15. Plastic window panel (1)
16. Side channel (2)
17. Screw - #8x3/8 truss head (6)
18. Panel frame/seal assembly (1)
NOTE: Use scale below to measure length of your
screws. The scale will come in handy when
separating screws for installation.
2. Choose a proper sized window, as shown right.
15-1/2 inches minimum width
16-1/4 inches maximum width (for
casement windows)
21-1/4 inches minimum height (with
window panel retainer)
20-5/16 inches minimum height
(window panel retainer removed)
39-7/16 inches maximum height
NOTE: Height measurement must be of a clear
opening above mounting platform. In some cases,
due to a variety of stop and track arrangements, the
above dimensions may vary slightly. If necessary,
installation can be made by alternating window
jambs. (See Alternate Window Jamb Applications.)
(continued)
IDENTIFY SCREWS
BY LENGTH
3
1
9,10,11
8
2
13
12
5
7
17
4
16
14
15
6
18
3
1
16 / inches
4
maximum
width
(casement
windows)
1
15 / inches
2
minimum
width
5
20 / inches
16
minimum
height
7
39 / inches
16
maximum
Height

Other manuals for Frigidaire FAK124Q1V2

Related product manuals