EasyManua.ls Logo

Frigidaire FAS155J1A1 - Air Handling Parts

Frigidaire FAS155J1A1
11 pages
Print Icon
To Next Page IconTo Next Page
To Next Page IconTo Next Page
To Previous Page IconTo Previous Page
To Previous Page IconTo Previous Page
Loading...
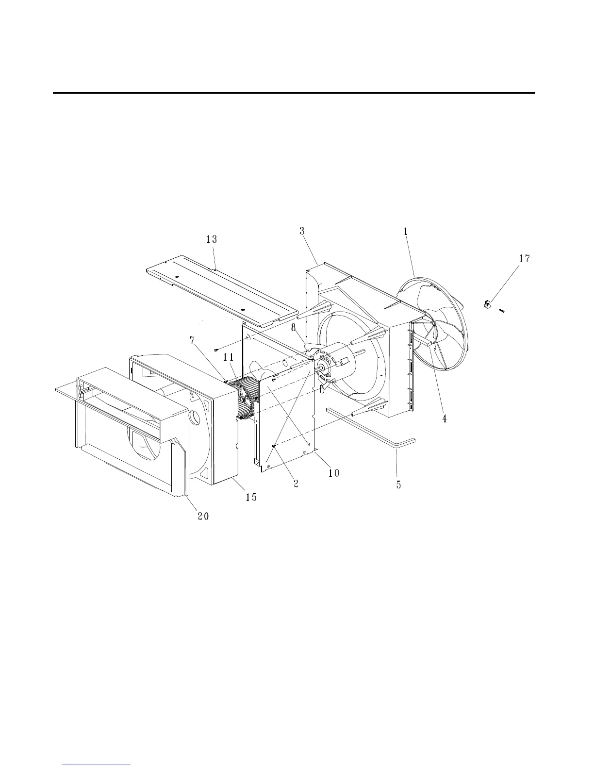
FAS155J1A1
AIR HANDLING PARTS
4/00 5

Related product manuals