EasyManua.ls Logo

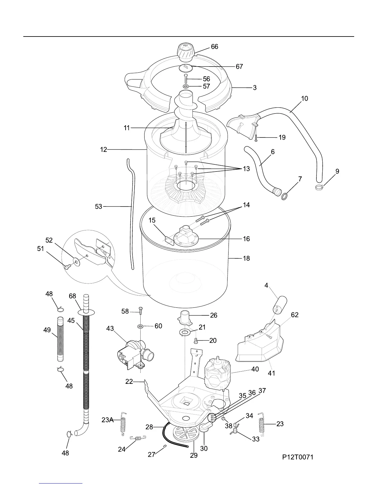
Frigidaire Gallery GLWS1649A - Motor and Tub System Parts; Motor and Tub Exploded View

Frigidaire Gallery GLWS1649A
10 pages
Print Icon
To Next Page IconTo Next Page
To Next Page IconTo Next Page
To Previous Page IconTo Previous Page
To Previous Page IconTo Previous Page
Loading...
05/03 4
Publication No. GLWS1649AS2
5995390894
MOTOR / TUB

Related product manuals