EasyManua.ls Logo

Frigidaire PLHS237ZA - Refrigerator Door Parts

Frigidaire PLHS237ZA
23 pages
Print Icon
To Next Page IconTo Next Page
To Next Page IconTo Next Page
To Previous Page IconTo Previous Page
To Previous Page IconTo Previous Page
Loading...
01/02 4
Publication No. PLHS237ZA
5995364352
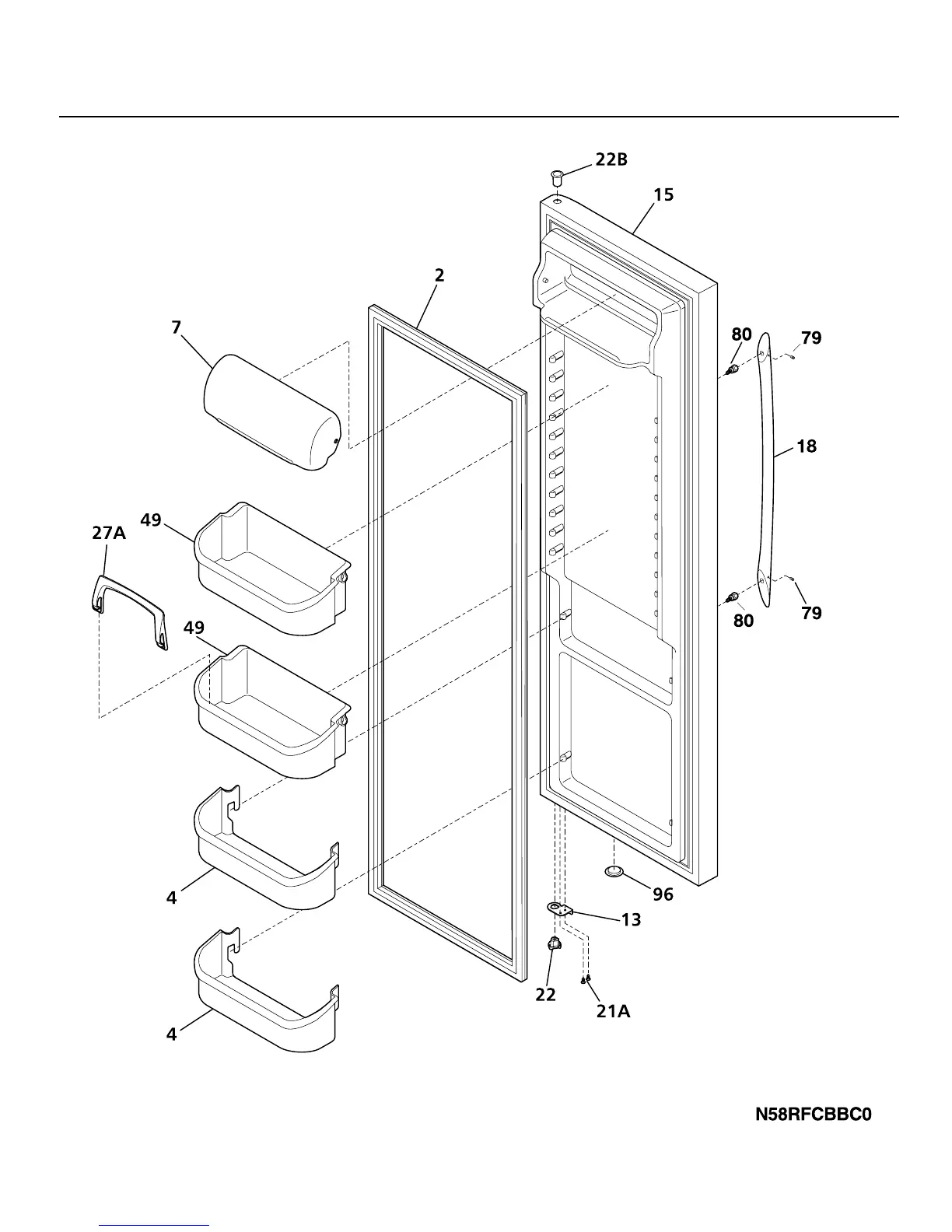
REFRIGERATOR DOOR

Related product manuals