EasyManua.ls Logo

Frontier FM1012 - Page 49

Frontier FM1012
66 pages
Print Icon
To Next Page IconTo Next Page
To Next Page IconTo Next Page
To Previous Page IconTo Previous Page
To Previous Page IconTo Previous Page
Loading...
Parts 49
5WPMAN0183 (Rev. 7/9/2008)
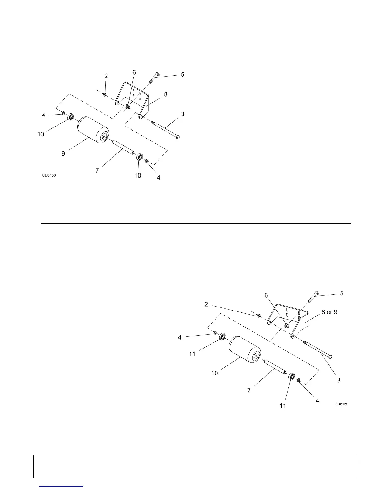
FM1012 CENTER DECK AND
FM1015 & FM1017 FRONT ROLLER ASSEMBLY (OPTIONAL)
FM1012 WING DECK ANTI-SCALP ROLLER KIT
REF PART QTY DESCRIPTION
5WP1006417 1 Front roller kit, complete
2 * 1 1/2 NC Flanged lock nut
3 5WP38107 1 1/2 NC x 9 Cap screw GR5
4 * 2 1/2 Flat washer SAE
5 * 4 3/8 NC x 1 Carriage bolt
6 5WP70069 4 3/8 NC Flanged whiz nut
7 5WP1006420 1 Spacer, .75 x 6.62
8 5WP1006419 1 Bracket, Front roller
9 5WP1006418 1 Roller, 4 x 7.37
10 5WP35193 2 Bearing
* Standard Hardware, Obtain Locally
REF PART QTY DESCRIPTION
5WP1006421 Roller kit, Front complete
2 * 1 1/2 NC Flanged lock nut
3 5WP38107 1 1/2 NC x 9 Cap screw GR5
4 * 2 1/2 Flat washer SAE
5 * 4 3/8 NC x 1 Carriage bolt
6 5WP70069 4 3/8 NC Flanged whiz nut
7 5WP1006420 1 Spacer, .75 x 6.62
8 5WP1006422 1 Bracket, Front roller right
9 5WP1006423 1 Bracket, Front roller left
10 5WP1006418 1 Roller, 4 x 7.37
11 5WP35193 2 Bearing
* Standard Hardware, Obtain Locally

Related product manuals