EasyManua.ls Logo

Fujitsu AOY45UMAXT - REFRIGERANT SYSTEM DIAGRAM

Fujitsu AOY45UMAXT
25 pages
Print Icon
To Next Page IconTo Next Page
To Next Page IconTo Next Page
To Previous Page IconTo Previous Page
To Previous Page IconTo Previous Page
Loading...
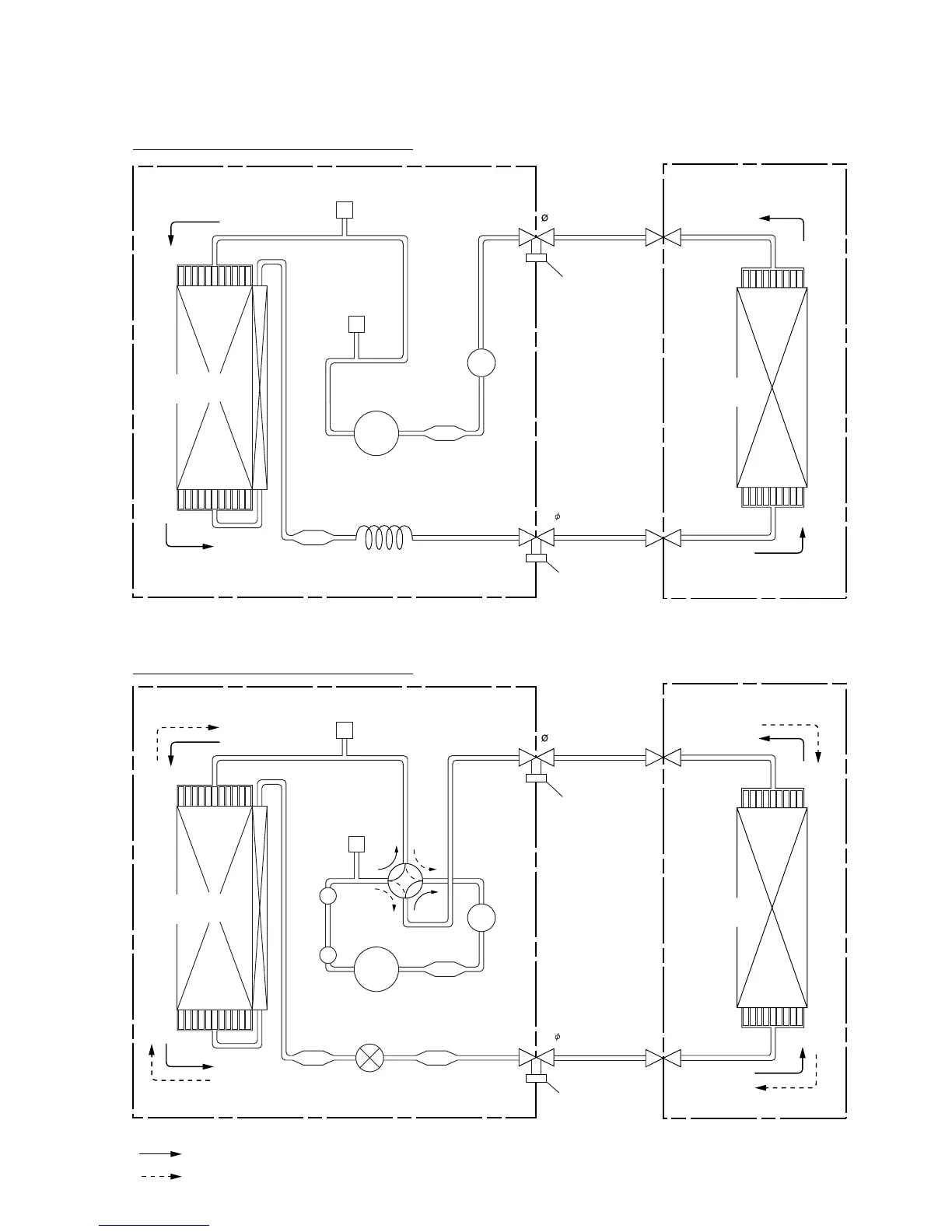
REFRIGERANT SYSTEM DIAGRAM
Models : ARG45FUAN / AOG45FMAXT
ARY45FUAN / AOY45FMAXT
Models : ARG45UUAN / AOG45FMAXT
ARY45UUAN / AOY45FMAXT
2005.12.06 5
: COOL
: HEAT
Refrigerant Pipe
19.05mm (3/4")
Refrigerant pipe
9.52mm (3/8")
INDOOR UNIT
Charging
Valve
Charging Valve
OUTDOOR UNIT
Compressor
Strainer
Strainer
Expansion Valve
Strainer
Condenser
4-way
Valve
Muffler x 2
Pressure
Check Valve
High
Pressure
Switch
Accumulator
Refrigerant Pipe
19.05mm (3/4")
Refrigerant pipe
9.52mm (3/8")
INDOOR UNIT
Evaporator
Charging
Valve
Charging Valve
OUTDOOR UNIT
Compressor
Strainer
Strainer
Condenser
Pressure
Check Valve
High
Pressure
Switch
Evaporator
Accumulator
Cappillary Tube

Related product manuals