EasyManua.ls Logo

Fujitsu ARTG60LHTA - Operation Mode Setting; Set Temperature Adjustment; Fan Speed Setting

Fujitsu ARTG60LHTA
101 pages
Print Icon
To Next Page IconTo Next Page
To Next Page IconTo Next Page
To Previous Page IconTo Previous Page
To Previous Page IconTo Previous Page
Loading...
1-4. AUTO CHANGEOVER OPERATION
01-04
When the air conditioner is set to the Auto mode by remote controller, operation starts in the optimum
mode from among the Heating, Cooling, Dry and Monitoring mode. During operation, the
optimum mode is automatically switched in accordance with temperature changes. The temperature
can be set between 18°C and 30°C in 1°C steps.
When operation starts, indoor fan and outdoor fan are operated for around 2 minutes or 3 minutes.
(This time is different for different types of indoor unit.)
Room temperature and outdoor temperature are sensed,
and the operation mode is selected in accordance with the table below. <Monitoring mode>
Cooling mode
25°C
Heating mode
( Table 4 : Operation mode selection table )
Room temperature (TR)
TR> Ts + 2°C
Ts + 2°C TR Ts - 2°C
*Middle zone
TR < Ts - 2°C Heating
When Cooling or Dry mode was selected at and air flow mode is Auto, the air conditioner operates as follow.
The same operation as COOLING OPERATION AND DRY OPERATION.
When the room temperature has remained at set temperature -1.5°C,
operation is automatically switched to Dry mode.
If the room temperature reaches set temperature +2°C during Dry mode, operation returns to Cooling.
1
1
2
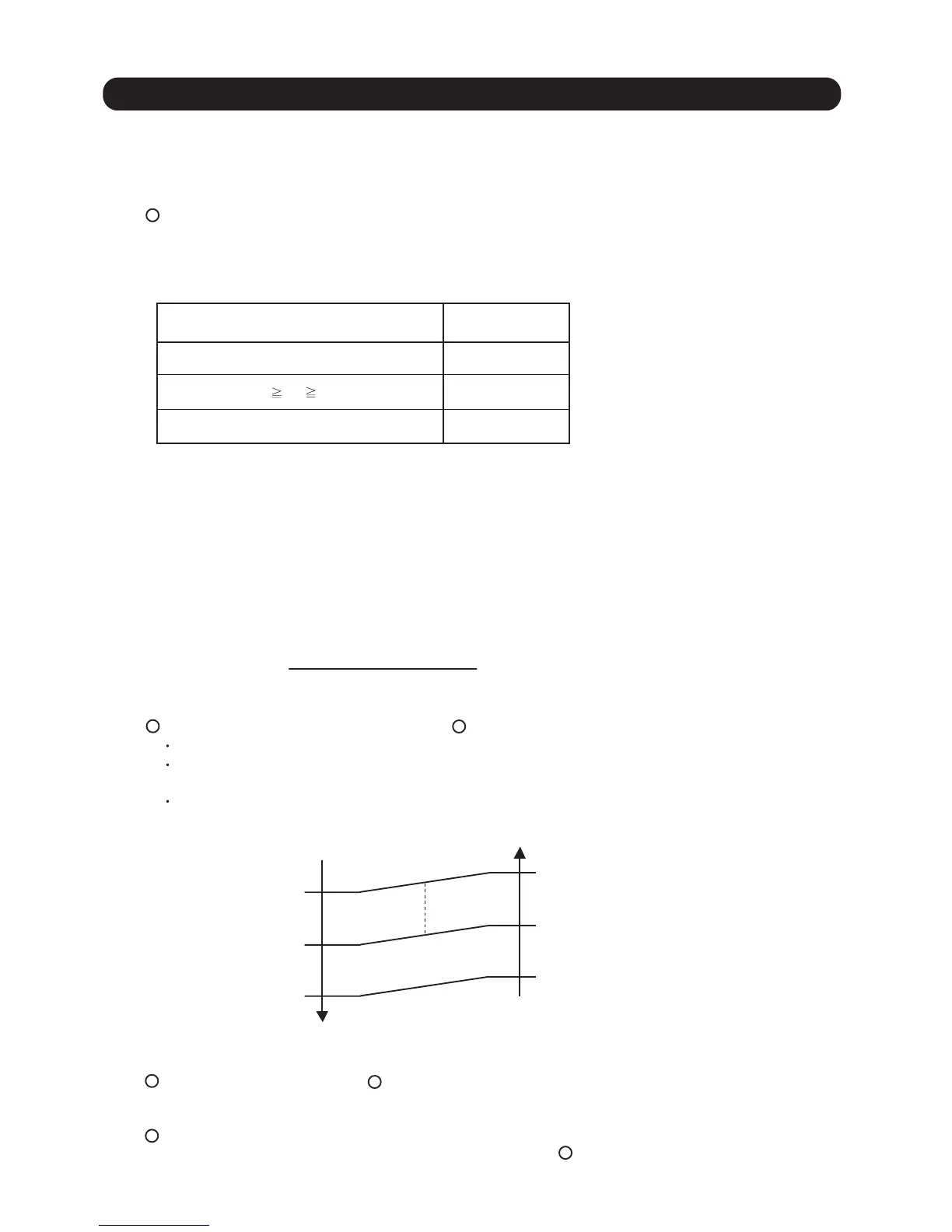
( Fig. 5 : Outdoor temperature zone selection )
Cooling
(Autmatic dry)
Operation mode
*If it's Middle zone, operation mode of indoor unit is selected as below.
(1). Same operation mode is selected as outdoor unit.
If outdoor unit is operating in Cooling, Dry, and Heating mode,
indoor unit will be operated by the same operation mode.
(2). Selected by the outdoor temperature.
If outdoor unit is operating in other than Cooling, Dry, and Heating mode,
indoor unit will be operated according to the outdoor temperature as below.
Cooling
Cooling
Dry
Dry
Compressor stop
When the room
temperature drops
When the room
temperature rises
Ts + 2°C
Ts - 0.5°C
Ts - 1.5°C
Ts + 1°C
Ts - 1.5°C
Ts - 2.5°C
( Fig.6 : Auto changeover : Cooling - Dry )
TR : Room temperature
Ts : Setting temperature
TR : Room temperature
Ts : Setting temperature
( Air flow mode : Auto )
When Heating was selected at , the same operation as HEATING OPERATION of page
01-02 is performed.
When the compressor was stopped for 6 consecutive minutes by the temperature control function
after the Cooling(Auto:Dry) or Heating mode was selected at above, operation is switched
to Monitoring and the operation mode is selected again.
3
1
4
1

Table of Contents

Other manuals for Fujitsu ARTG60LHTA

Related product manuals