EasyManua.ls Logo

Fujitsu ASHG12KMCE - Page 320

Fujitsu ASHG12KMCE
403 pages
To Next Page IconTo Next Page
To Next Page IconTo Next Page
To Previous Page IconTo Previous Page
To Previous Page IconTo Previous Page
Loading...
Powerful operation
42°C
Indoor heat exchanger
temperature rises
HIGH
Cool air prevention
S-LOW
Indoor heat exchanger
temperature drops
39°C
37°C
30°C
34°C
31°C
29°C
24°C
POWERFUL
LOW
13 minutes later:
42°C
Indoor heat exchanger
temperature rises
HIGH
Indoor heat exchanger
temperature drops
39°C
37°C
30°C
34°C
31°C
29°C
24°C
POWERFUL
LOW
LOW
LOW
10 °C HEAT operation
Indoor heat exchanger
temperature rises
Indoor heat exchanger
temperature drops
39°C
31°C
AUTO
LOW
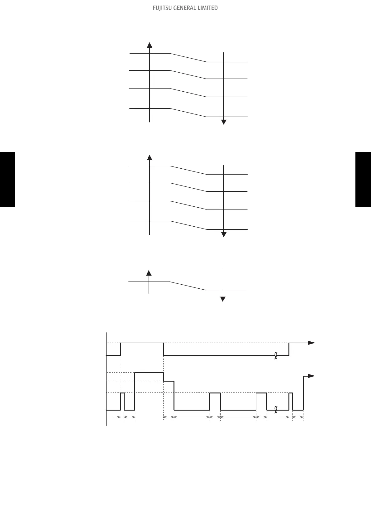
Moisture return prevention control (cooling and dry mode)
Switch the airflow AUTO at cooling mode, and the indoor fan motor will run as shown below.
Compressor
On
Off
Indoor fan
setting airflow
S-LOW
Off
10 30 60 180 60 180 60 10 30 (sec)
Indoor fan speed
3-1. Indoor fan control - (04-58) - 3. Fan control
CONTROL AND
FUNCTIONS
CONTROL AND
FUNCTIONS

Table of Contents

Other manuals for Fujitsu ASHG12KMCE

Related product manuals