EasyManua.ls Logo

Fujitsu ASUG12LZAS - Page 130

Fujitsu ASUG12LZAS
179 pages
Print Icon
To Next Page IconTo Next Page
To Next Page IconTo Next Page
To Previous Page IconTo Previous Page
To Previous Page IconTo Previous Page
Loading...
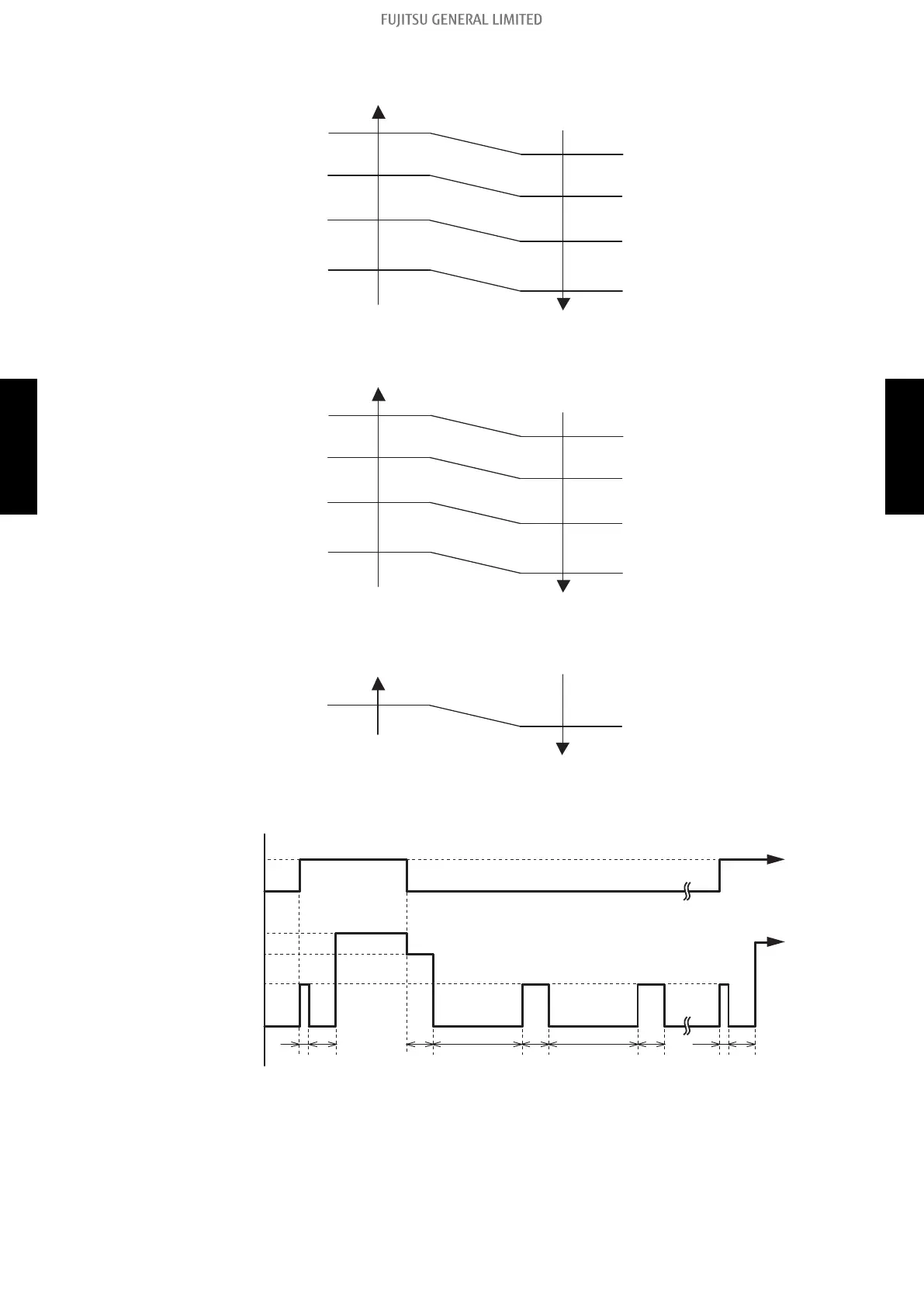
Powerful operation
Indoor heat exchanger
temperature rises
HIGH
Cool air prevention
S-LOW
Indoor heat exchanger
temperature drops
POWERFUL
LOW
86.0°F
(30°C)
98.6°F
(37°C)
102.2°F
(39°C)
107.6°F
(42°C)
98.6°F
(37°C)
89.6°F
(32°C)
82.4°F
(28°C)
93.2°F
(34°C)
7 minutes later:
Indoor heat exchanger
temperature rises
HIGH
Indoor heat exchanger
temperature drops
POWERFUL
LOW
LOW
LOW
86.0°F
(30°C)
98.6°F
(37°C)
102.2°F
(39°C)
107.6°F
(42°C)
98.6°F
(37°C)
89.6°F
(32°C)
82.4°F
(28°C)
93.2°F
(34°C)
MIN. HEAT operation
Indoor heat exchanger
temperature rises
Indoor heat exchanger
temperature drops
AUTO
LOW
102.2°F
(39°C)
93.2°F
(34°C)
¢ Moisture return prevention control (cooling and dry mode)
Switch the airflow AUTO at cooling mode, and the indoor fan motor will run as shown below.
Compressor
On
Off
Indoor fan
setting airflow
S-LOW
Off
10 30 60 180 60 180 60 10 30 (sec)
Indoor fan speed
3-1. Indoor fan control - (04-12) - 3. Fan control
CONTROL AND
FUNCTIONS
CONTROL AND
FUNCTIONS

Table of Contents

Other manuals for Fujitsu ASUG12LZAS

Related product manuals