EasyManua.ls Logo

Fujitsu ASYG09KMCF - Page 86

Fujitsu ASYG09KMCF
567 pages
Print Icon
To Next Page IconTo Next Page
To Next Page IconTo Next Page
To Previous Page IconTo Previous Page
To Previous Page IconTo Previous Page
Loading...
¢
Models: ASYG07–14KMCF
- 78 -
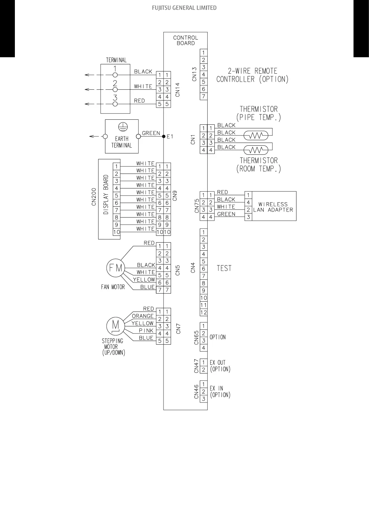
5-4. Wall mounted type
5. Wiring diagrams
4-5 UNIT
MULTI-SPLIT TYPE
4-5 UNIT
MULTI-SPLIT TYPE

Table of Contents

Other manuals for Fujitsu ASYG09KMCF

Related product manuals