EasyManua.ls Logo

FXA HCM450 - Wiring Diagram; Maintenance Instructions

FXA HCM450
98 pages
Print Icon
To Next Page IconTo Next Page
To Next Page IconTo Next Page
To Previous Page IconTo Previous Page
To Previous Page IconTo Previous Page
Loading...
10
Do not pour or spray water directly
over the motor cover, especially
the openings in it.
Wipe off any external material on
the motor cover. Do not use petrol,
turpentine, lacquer or paint thinner,
dry cleaning fluids or similar
products. The use of chemical
products or solvents may affect
the properties of the cover which
was made of high density
polyethyiene PET.
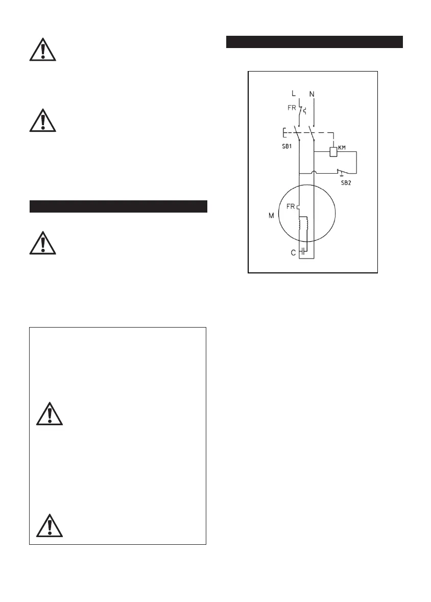
WIRING DIAGRAM
MAINTENANCE INSTRUCTIONS
Ensure the extension cord is
always unplugged before the motor
cover is removed.
The drive belt is under constant even tension
by a spring loaded jockey. No adjustment apart
from a touch of grease on the spindle.
The bearings are sealed for life.
The wiring diagram and parts
schematic in this manual are as
reference tools only. Neither the
manufacturer nor distributor
makes any representation or
warranty of any kind to the buyer
that he or she is qualified to
make any repairs to the product
or that he or she is qualified to
replace any parts of the product.
Only qualified technicians should
repair the mixer. Any
maintenance and repairs carried
out, to any of the electric
components must be undertaken
by a qualified electrician.
Parts in a circle should only be
fitted by a qualified electrician.