EasyManua.ls Logo

G-Lab MD3110 - Performing Blood Pressure Measurement

Default Icon
25 pages
Print Icon
To Next Page IconTo Next Page
To Next Page IconTo Next Page
To Previous Page IconTo Previous Page
To Previous Page IconTo Previous Page
Loading...
- 11 -
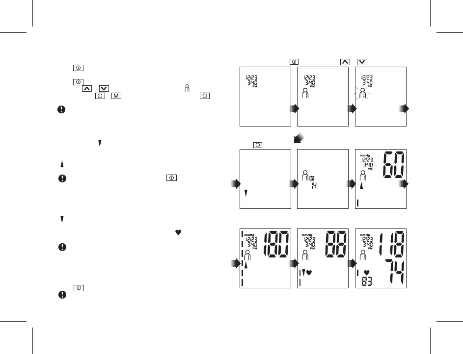
PERFORMING BLOOD PRESSURE MEASUREMENT
1. Press key to turn the device from Clock Mode to Standby
Mode.
2. Press key again to start the blood pressure measurement.
OR Press or key to select User 1,2,3 or 4. blinks on the
display. Press or key to confirm selection. Press key
again to start the blood pressure measurement.
The device has a memory capability to store the measurement
data for 4 users - User 1,2,3 and 4. Every time you complete
the measurement, the device automatically stores the
measurement result.
3. The cuff deflates to remove residue air before starting
measurement. Releasing air indicator blinks on the display.
4. User number and memory record number appear on the display.
5. The cuff starts to inflate. It is normal for the cuff to feel tight.
Pressurize indicator, the corresponding pressure bar indicator
and the current cuff pressure appear on the display.
If you want to stop cuff inflation, press key to turn off the
device and the cuff will deflate.
6. The monitor automatically determines your ideal inflation level
and will stop inflation automatically. When inflation completes,
deflation will start automatically. The device is measuring the
blood pressure and the pulse rate while the cuff is deflating.
Releasing air indicator, the corresponding pressure bar
indicators and the current cuff pressure appear on the display.
As soon as a pulse is detected, the Heart Mark flashes at
every heartbeat.
If the cuff pressure is not high enough to detect the blood
pressure, the device will re-inflate the cuff to a higher
pressure and restart the measurement.
7. When the measurement is completed, the systolic pressure, the
diastolic pressure and pulse rate are displayed and are stored to
memory. The cuff deflates to remove residue air automatically.
8. Press key to turn off the device.
The device will automatically return to Clock Mode after 1
minutes of inactivity.
Clock Mode
Display User No. and
Memory Record No.
Standby Mode User icon blinking
Inflation in Progress
Measurement
completed,
display with data
Deflation and
Measurement in
Progress
Inflation Stop
Press Key
Press Key to start
Deflation before
measurement
Press or Key

Related product manuals