EasyManua.ls Logo

Galaxy 8 - modify-user-level-and-duress-code; user-level-assignment-and-availability; duress-code-implementation-and-usage

Galaxy 8
35 pages
Print Icon
To Next Page IconTo Next Page
To Next Page IconTo Next Page
To Previous Page IconTo Previous Page
To Previous Page IconTo Previous Page
Loading...
Galaxy 8/18/60/500/512 17 User Guide
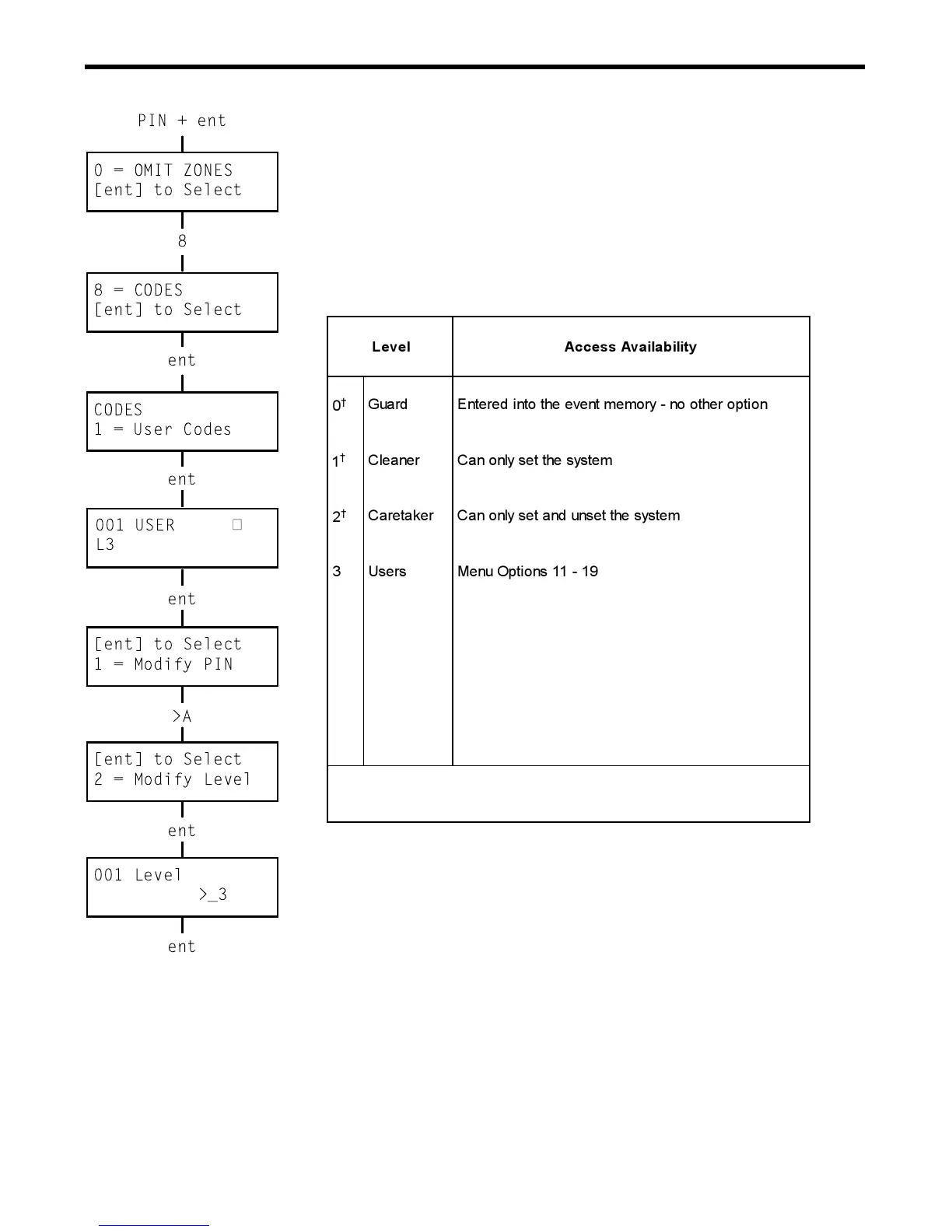
MODIFY LEVEL
Each user is assigned an access level which determines the menu
options available to the user (see p.7, Table 1. Menu Options). On
selecting this option, enter the level to be assigned to the user and
press the ent key to accept the programming and return to the
previous menu level. See Table 2. User Access Levels, for access
availability.
Table 2. User Access Levels
0 = OMIT ZONES
[ent] to Select
8
8 = CODES
[ent] to Select
PIN + ent
ent
CODES
1 = User Codes
ent
[ent] to Select
1 = Modify PIN
ent
>A
[ent] to Select
2 = Modify Level
ent
001 Level
>_3
ent
001 USER
L3
ð
leveLytilibaliavAsseccA
0
drauGnoitporehtoon-yromemtneveehtotnideretnE
1
renaelCmetsysehttesylnonaC
2
rekateraCmetsysehttesnudnatesylnonaC
3sresU91-11snoitpOuneM
4sresU92-11snoitpOuneM
5sresU93-11snoitpOuneM
6
reganaM94-11snoitpOuneM
.snoitcnufunemotsseccaoN
.degnahcebtonnachcihwleveldexifasahedocreganamehT
• DURESS CODE
1.Galaxy 18, 60, 500 and 512
If the # key is pressed while the Modify Level option is
accessed, then the current code is assigned as a Duress Code.
Entry of a duress code at any time activates any output pro-
grammed as Duress. There is no limit to the number of codes that
can be assigned as Duress Codes.
2.Galaxy 8, 18, 60, 500 and 512
Any valid PIN followed by # # ent (the ent key can be replaced
by either the A> or <B key) can be used as a Duress Code. This
method will activate any output programmed as PA.