EasyManua.ls Logo

Gasmate Odyssey - ASSEMBLY INSTRUCTIONS; Step 12: Heat Shield Position; Step 13: Heat Shield Secure

Gasmate Odyssey
20 pages
Print Icon
To Next Page IconTo Next Page
To Next Page IconTo Next Page
To Previous Page IconTo Previous Page
To Previous Page IconTo Previous Page
Loading...
1514
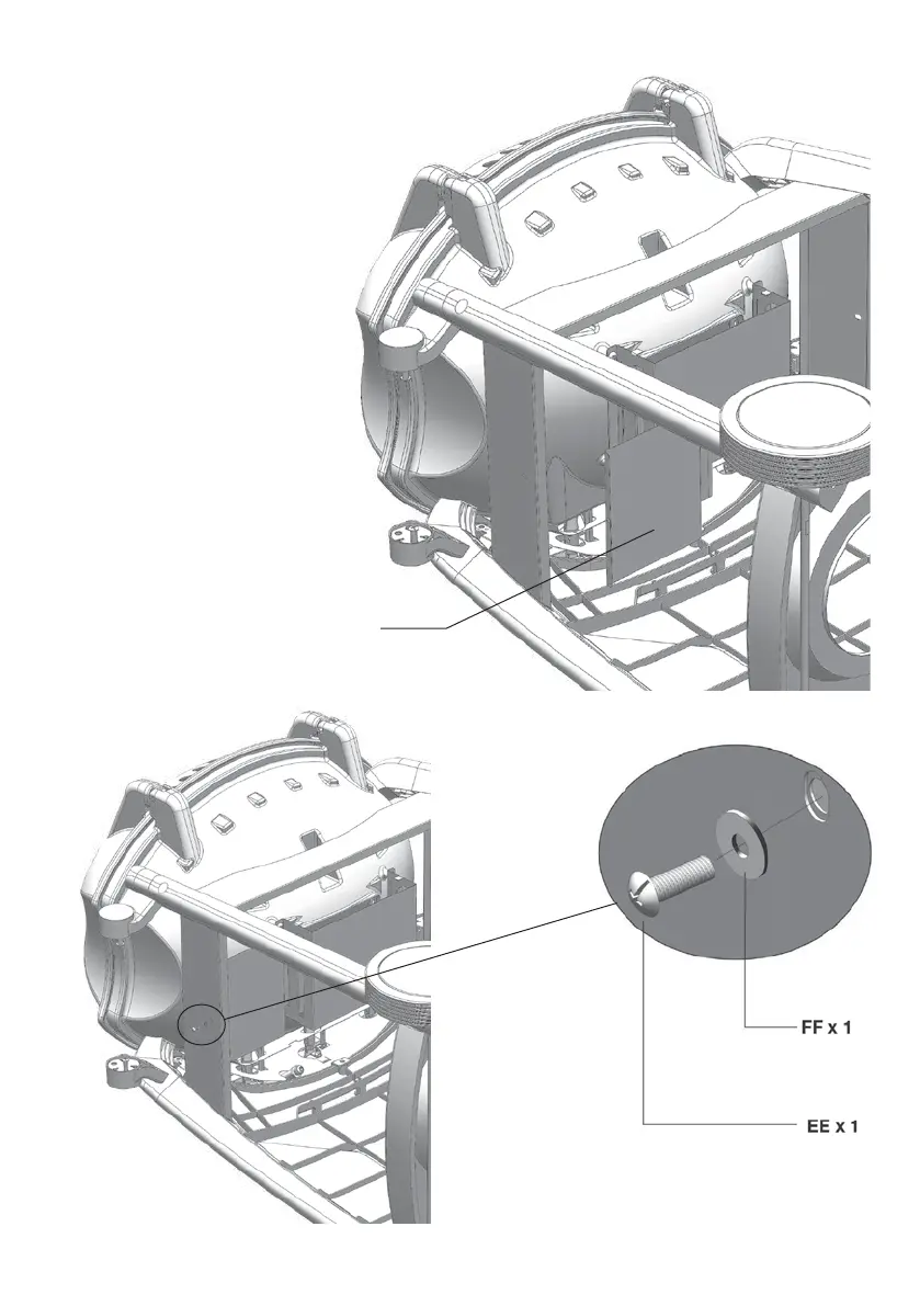
STEP 12
Position the heat shield tabs as shown into
the slot on the fat tray support.
F
STEP 13
Secure the heat shield with the fasteners.

Related product manuals