EasyManua.ls Logo

GE 27 - Turbocool TM

GE 27
132 pages
Print Icon
To Next Page IconTo Next Page
To Next Page IconTo Next Page
To Previous Page IconTo Previous Page
To Previous Page IconTo Previous Page
Loading...
6 49-1000471 Rev. 1
USING THE REFRIGERATOR: Controls
Controls (on some models)
Filter
Status
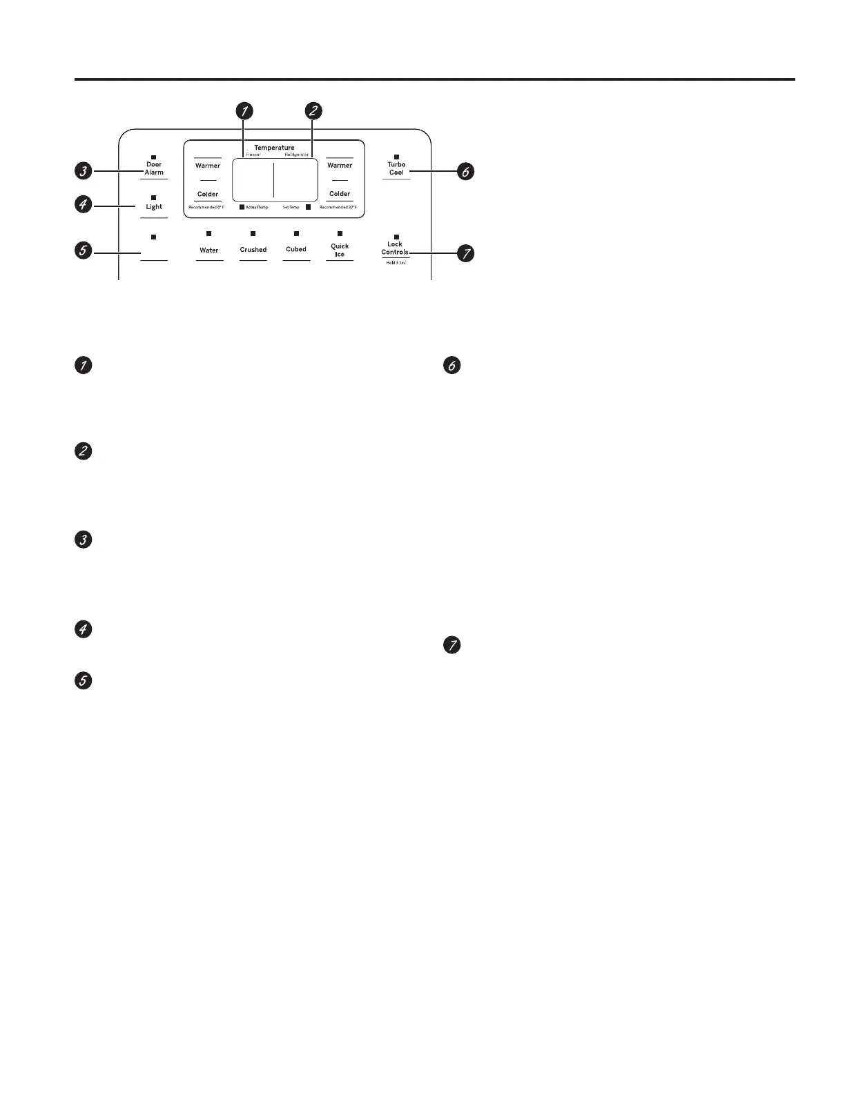
Freezer Compartment Temperature Control
$GMXVWIUHH]HUFRPSDUWPHQWWHPSHUDWXUH7KH
IUHH]HUWHPSHUDWXUHLVSUHVHWLQWKHIDFWRU\DW 0°F
(-17.8°C)$OORZKRXUVIRUWHPSHUDWXUHWRVWDELOL]H
to the preset recommended setting.
Fresh Food Compartment Temperature Control
Adjust fresh food compartment temperature. The
fresh food temperature is preset in the factory at
37°F (2.8°C). Allow 24 hours for temperature to
VWDELOL]HWRWKHSUHVHWUHFRPPHQGHGVHWWLQJ
Door Alarm (on some models)
To set the alarm, press this pad until the indicator
light comes on. This alarm will sound if either door is
open for more than 3 minutes. The light goes out and
the beeping stops when you close the door.
LED dispenser Light
Press the Light pad to turn your dispenser light on
and off.
Filter Status
Press the Filter Status pad to display the water
filter’s life percentage (%).
TurboCool TM (on some models)
TurboCool ™ rapidly cools the refrigerator
compartment in order to more quickly cool foods.
Use TurboCool ™ when adding a large amount
of food to the refrigerator compartment, putting
away foods after they have been sitting out at room
WHPSHUDWXUHRUZKHQSXWWLQJDZD\ZDUPOHIWRYHUV,W
can also be used if the refrigerator has been without
power for an extended period.
NOTES: The refrigerator temperature cannot be
changed during TurboCool™.
7KHIUHH]HUWHPSHUDWXUHLVQRWDIIHFWHGGXULQJ
TurboCool™.
When opening the refrigerator door during
TurboCool™, the fans will continue to run if they
have cycled on.
Lock Controls
Press and hold the Lock Controls pad for 3
seconds to lock out ice and water dispenser and all
other controls. Press and hold to unlock the controls.
COMPRESSOR
7RWXUQRႇFRPSUHVVRU
5DLVHWKHIUHH]HUWHPSHUDWXUHDERYHWKHKLJKHVW
setting by pressing the Freezer warmer pad until the
display starts blinking.
2. Raise the Fresh Food temperature above the highest
VHWWLQJXQWLO\RXVHH2))
To turn on the compressor:
1. Press Fresh Food or Freezer colder pad.
NOTE: Compartment lights and the user interface
display will stay on.
The temperature controls can display both the SET temperature as well as the actual temperature in the refrigerator
DQGIUHH]HU7KHDFWXDOWHPSHUDWXUHPD\YDU\VOLJKWO\IURPWKH6(7WHPSHUDWXUHEDVHGRQXVDJHDQGRSHUDWLQJ
environment.
The temperature controls are preset in the factory
at 37°F (2.8°C) for the refrigerator compartment
and 0°F (-17.8°C)IRUWKHIUHH]HUFRPSDUWPHQW
$OORZKRXUVIRUWKHWHPSHUDWXUHWRVWDELOL]HWR
the preset recommended settings.

Table of Contents

Related product manuals